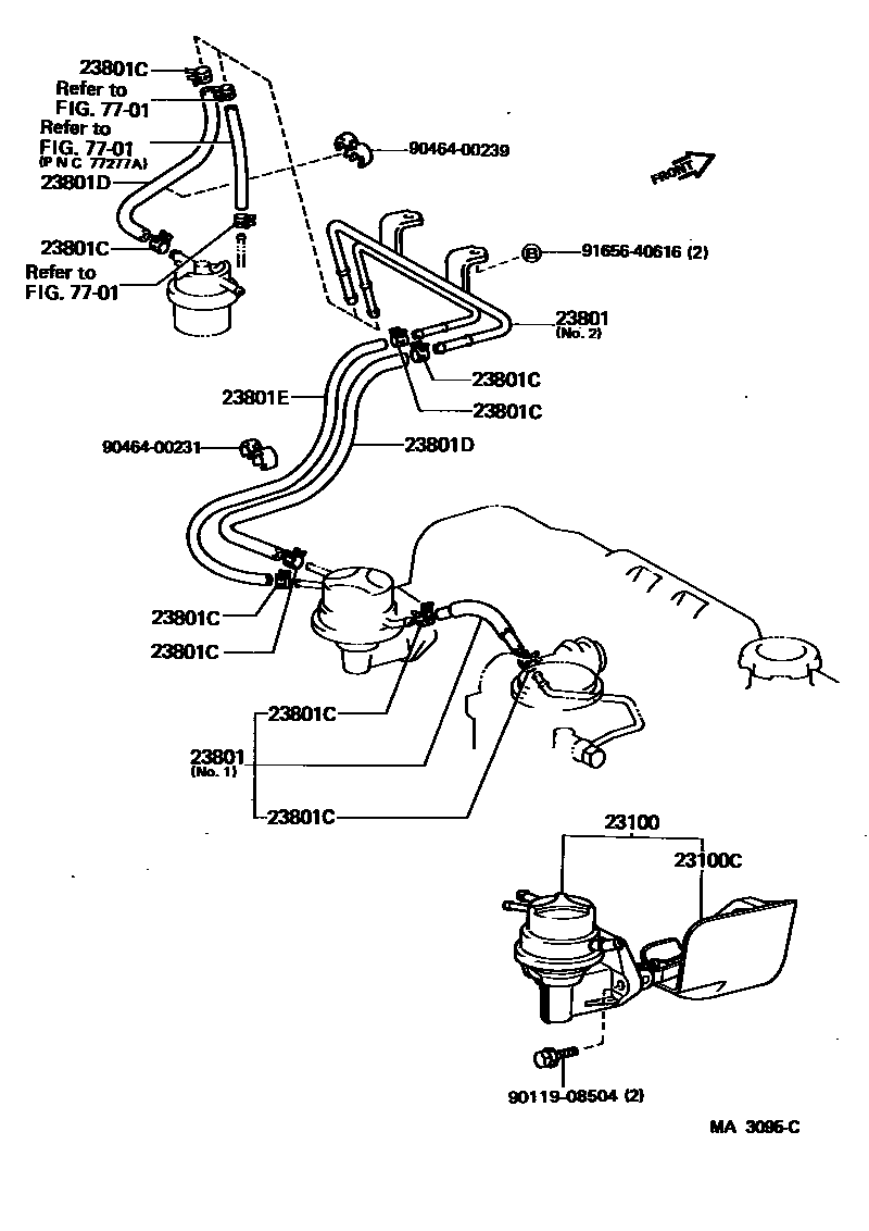
FUEL PUMP & PIPE

23100PUMP ASSY, FUEL
23100CINSULATOR, FUEL PUMP
23801PIPE OR HOSE SUB-ASSY, CARBURETOR FUEL, NO.1
NO.1
NO.2
NO.2
23801CCLIP(FOR CARBURETOR FUEL HOSE)
RETURN,ID=4
ID=6
23801DHOSE, FUEL PIPE, NO.1
23801EHOSE, FUEL PIPE, NO.2
RETURN
7701FUEL TANK & TUBE
9011908504
main90119-08504
9046400231
main90464-00231
9046400239
main90464-00239
9165640616
main91656-40616
11 parts on this diagram · 1 diagram in section