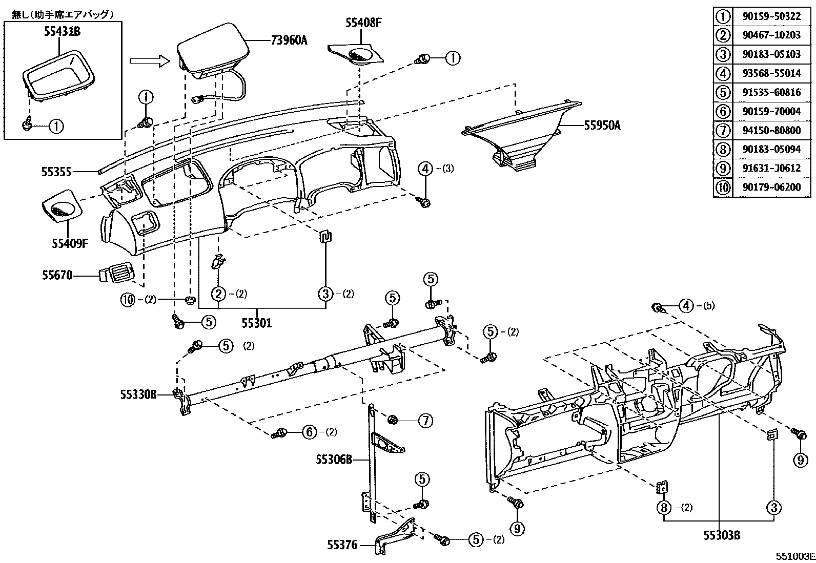
INSTRUMENT PANEL & GLOVE COMPARTMENT

55301PANEL SUB-ASSY, INSTRUMENT
DK.GRAY,TRIM1#
55303BPANEL SUB-ASSY, INSTRUMENT, LOWER
DK.GRAY,TRIM1#
55306BBRACE SUB-ASSY, INSTRUMENT PANEL TO COWL
55330BREINFORCEMENT ASSY, INSTRUMENT PANEL
55355CUSHION, INSTRUMENT PANEL, NO.1
55376BRACKET, INSTRUMENT PANEL MOUNTING, NO.1
55408FPANEL SUB-ASSY, INSTRUMENT PANEL SPEAKER, NO.1
DK.GRAY,TRIM1#
55409FPANEL SUB-ASSY, INSTRUMENT PANEL SPEAKER, NO.2
DK.GRAY,TRIM1#
55431BPANEL, INSTRUMENT PANEL FINISH, UPPER
55670REGISTER ASSY, INSTRUMENT PANEL, NO.3
55950ANOZZLE ASSY, DEFROSTER
73960AAIRBAG ASSY, INSTRUMENT PANEL PASSENGER W/O DOOR
9015950322
main90159-50322
9015970004
main90159-70004
9017906200
main90179-06200
9018305094
main90183-05094
9018305103
main90183-05103
9046710203
main90467-10203
9153560816
main91535-60816
91631J0612
main91631-J0612
9356855014
main93568-55014
9415080800
main94150-80800
22 parts on this diagram · 4 diagrams in section