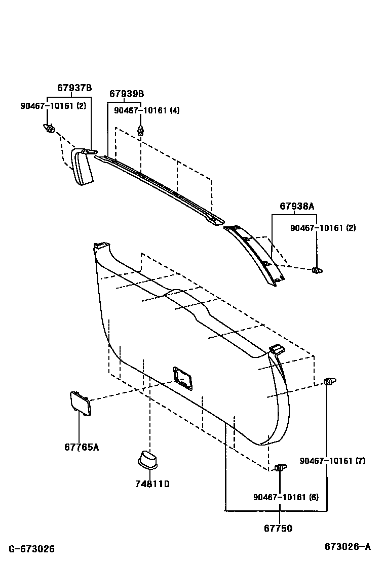
BACK DOOR PANEL & GLASS

67750BOARD ASSY, BACK DOOR TRIM
DK.GRAY,TRIM1#
67765ACOVER, BACK DOOR SERVICE HOLE, NO.1
DK.GRAY,TRIM1#
67937BGARNISH, BACK DOOR SIDE, RH
LT.GRAY,TRIM1#
67938AGARNISH, BACK DOOR SIDE, LH
LT.GRAY,TRIM1#
67939BGARNISH, BACK DOOR, CENTER
LT.GRAY,TRIM1#
74811DHANDLE, DOOR PULL
9046710161
main90467-10161
7 parts on this diagram · 2 diagrams in section