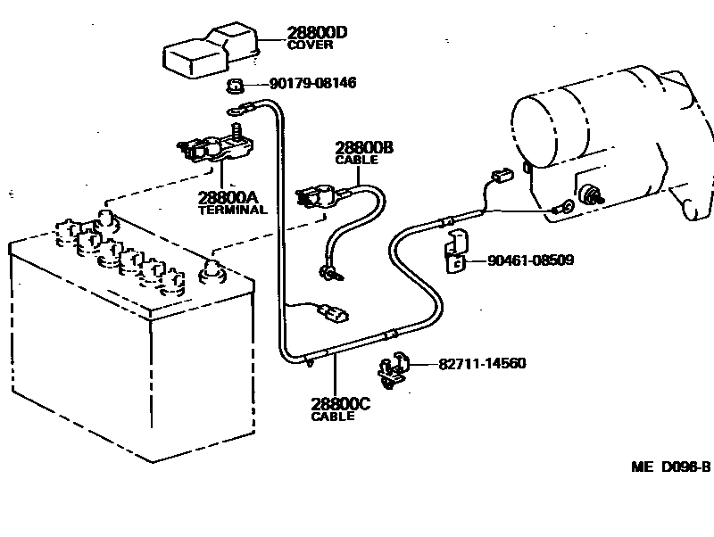
BATTERY & BATTERY CABLE

28800ATERMINAL, BATTERY POSITIVE
28800BCABLE, BATTERY TO GROUND
28800CCABLE, BATTERY TO STARTER(FOR BATTERY TO MAIN SWITCH)
STARTER=12V 0.8KW
STARTER=12V 0.8KW
STARTER=12V 1.0KW
STARTER=12V 1.0KW
STARTER=12V 0.8KW
STARTER=12V 1.0KW
28800DCOVER, CONNECTOR(FOR BATTERY TERMINAL)
8271114560WIRE, FUSE TO FUSE(FOR COMBUSTION HEATER)
main82711-14560
9017908146
main90179-08146
9046108509
main90461-08509
7 parts on this diagram · 1 diagram in section