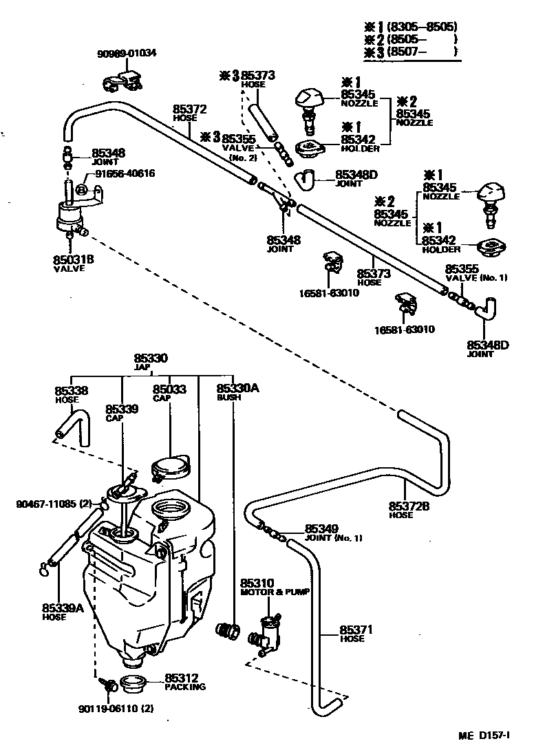
WINDSHIELD WASHER

85033CAP ASSY, WINDSHIELD WASHER
85310MOTOR AND PUMP ASSY, WINDSHIELD WASHER
85312PACKING, WINDSHIELD WASHER TANK
85330JAR ASSY, WINDSHIELD WASHER
W/RR WIPER
85330ABUSH, WINDSHIELD WASHER JAR
85338HOSE, BREATHER
sub85338-12010
85339CAP SUB-ASSY, RESERVE TANK
85339AHOSE (FOR RADIATOR RESERVE TANK)
sub90099-33370
85342HOLDER, WASHER NOZZLE
85348JOINT, WINDSHIELD WASHER HOSE, NO.1
3-WAY
2-WAY
2-WAY,W/RR WIPER
85348DJOINT, WINDSHIELD WASHER ELBOW, NO.1
sub85355-14481
85349JOINT, WINDSHIELD WASHER HOSE, NO.1
NO.2
NO.1
85355VALVE, WINDSHIELD WASHER HOSE
NO.1
NO.1 & NO.2
NO.2,W/RR WIPER
85371HOSE, WINDSHIELD WASHER (FROM MOTOR TO JOINT)
85372BHOSE, WINDSHIELD WASHER (FROM JOINT TO JOINT), NO.2
85373HOSE, WINDSHIELD WASHER (FROM JOINT TO NOZZLE)
1658163010CLAMP, HOSE(FOR WATER HOSE)
main16581-63010
9011906110
main90119-06110
9046711085
main90467-11085
9098901034
main90989-01034
9165640616
main91656-40616
24 parts on this diagram · 2 diagrams in section