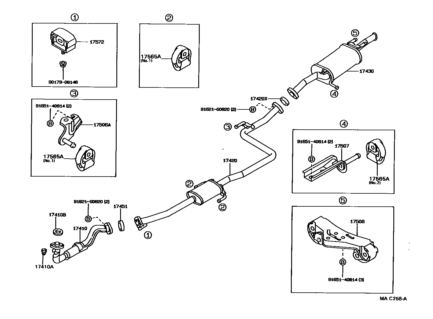
EXHAUST PIPE

17410PIPE ASSY, EXHAUST, FRONT
17410ANUT, EXHAUST PIPE SET STUD BOLT
17410BGASKET, EXHAUST PIPE
17420PIPE ASSY, EXHAUST, CENTER
17420XGASKET, EXHAUST PIPE, CENTER
17430PIPE ASSY, EXHAUST, TAIL
17451GASKET, EXHAUST PIPE
17506ABRACKET SUB-ASSY, EXHAUST PIPE NO.1 SUPPORT
17507BRACKET SUB-ASSY, EXHAUST PIPE NO.2 SUPPORT
17508SUPPORT SUB-ASSY, EXHAUST PIPE, NO.3
17565ASUPPORT, EXHAUST PIPE, NO.4
17572BRACKET, EXHAUST PIPE NO.1 SUPPORT
9017908146
main90179-08146
9162160820
main91621-60820
9165140814
main91651-40814
15 parts on this diagram · 2 diagrams in section