E
EPC Data

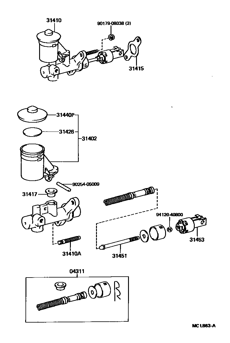
CLUTCH MASTER CYLINDER

Parts diagram
04311CYLINDER KIT, CLUTCH MASTER
main04311-12100i199106-199208
main04311-12110i199208-199311
31402RESERVOIR SUB-ASSY, CLUTCH MASTER CYLINDER
main31402-12030i199106-199704
main31402-12060i199106-199704
31410CYLINDER ASSY, CLUTCH MASTER
main31410-12300i199106-199202
main31410-12301i199202-199311
main31410-12302i199311-199704
main31410-12310i199106-199202
main31410-12311i199202-199208
main31410-12312i199208-199704
31410ABOLT(FOR CLUTCH MASTER CYLINDER SETTING)
main90116-08146×2i199106
31415GASKET, CLUTCH MASTER CYLINDER
main31415-10010i199106
31417GROMMET, CLUTCH RESERVOIR
main31417-35010i199106
31426FLOAT, CLUTCH MASTER CYLINDER RESERVOIR
main31426-30011i199106
31440PCAP ASSY, CLUTCH MASTER CYLINDER RESERVOIR FILLER
main47230-20040i199106
31451ROD, CLUTCH MASTER CYLINDER PUSH
main31451-20090i199310-199704
main31451-35070i199106-199310
main31451-35080i199704
31453CLEVIS, CLUTCH MASTER CYLINDER PUSH ROD
main31404-12020i199106-199110
main31404-17010i199110-199704
main31453-10020i199106-199310
main31453-10040i199310-199704
9017908038
9025405009
9412040800

13 parts on this diagram · 2 diagrams in section

CLUTCH MASTER CYLINDER — Toyota Parts Diagram with OEM Numbers & Prices | EPC Data