E
EPC Data

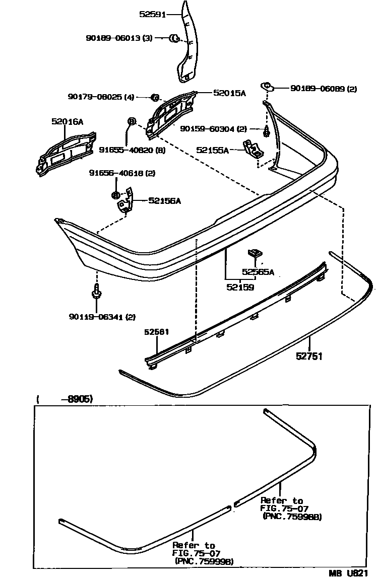
REAR BUMPER & BUMPER STAY

Parts diagram
52015AARM SUB-ASSY, REAR BUMPER, RH
main52181-12300i198705-198905
main52181-12370i198905-199106
52016AARM SUB-ASSY, REAR BUMPER, LH
main52182-12250i198705-198905
main52182-12290i198905-199106
52155ASUPPORT, REAR BUMPER SIDE, RH
main52155-12160i198705-199106
52156ASUPPORT, REAR BUMPER SIDE, LH
main52156-12130i198705-199106
52159COVER, REAR BUMPER
main52159-12820i198705-198905
main52159-12850-02i198705-198905
RIME,SUPER RED 2,3E5; SUPER RED 2,3E5
main52159-12850-03i198705-198905
GRAY M,168; RIME,GRAY M,168
main52159-12850-04i198705-198805
BLUE M,8D7; RIME,BLUE M,8D7
main52159-12850-08i198705-198905
RIME,SUPER WHITE 2,040; SUPER WHITE 2,040
main52159-12850-14i198805-198905
BLUE M,8B5; RIME,BLUE M,8B5
main52159-12860-01i198810-198905
main52159-12860-02i198705-198905
main52159-12860-03i198705-198905
main52159-12860-05i198705-198905
BEIGE M,28E
main52159-12860-08i198705-198905
main52159-12860-13i198705-198905
SILVER M,23E
main52159-1A250-01i198905-199106
BLACK M,205
main52159-1A250-02i198905-199106
main52159-1A250-04i198905-199106
main52159-1A250-07i198905-199106
GRAYISH GREEN M,6K6
main52159-1A250-08i198905-199106
main52159-1A250-17i198905-199106
LIGHT OLIVEISH GRAY,23M
main52159-1A270-02i198905-199106
SUPER RED 2,3E5
main52159-1A270-04i198905-199106
DARK BLUE MICA M,8E9
main52159-1A270-08i198905-199106
SUPER WHITE 2,040
main52159-1A290-08i198901-198905
APEX LIMITED,S WHITE 2-SILVER M
52561RETAINER, REAR BUMPER, UPPER CENTER
main52508-12020i198905-199106
52565ARETAINER, REAR BUMPER, LOWER
main52565-12040×8i198705-199106
52591SEAL, REAR BUMPER SIDE, RH
main52591-12070i198705-199106
52751MOULDING, REAR BUMPER
main52751-12180i198905-199106
main52751-12230i199001-199005
7507BODY STRIPE
9011906341
9015960304
9017908025
9018906013
9018906089
9165540820
9165640618

17 parts on this diagram · 1 diagram in section

REAR BUMPER & BUMPER STAY — Toyota Parts Diagram with OEM Numbers & Prices | EPC Data