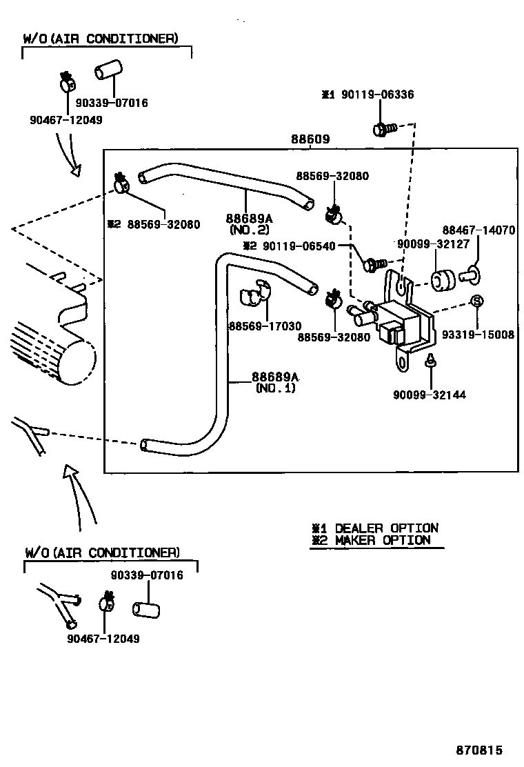
HEATING & AIR CONDITIONING - VACUUM PIPING

88609DEVICE SUB-ASSY, IDLE UP
88689AHOSE, COOLER VACUUM NO.1
NO.2(OUT)
main88689-12440iAE104..5F..(SEL,XE); AE104..LX;AE104..4FC;AE100,101..DX,G,LT,LX,SEG,SEL,SJ,XE199205-199505
NO.1(IN)
NO.2(OUT)
NO.1(IN)
NO.2(OUT)
N0.3
NO.1(IN)
NO.2(OUT)
8846714070CUSHION, COOLER CONDENSER, NO.1
main88467-14070
8856917030CLAMP (FOR COOLER RELAY)
main88569-17030
8856932080CLAMP (FOR COOLER RELAY)
main88569-32080
9009932127
main90099-32127
9009932144
main90099-32144
9011906336
main90119-06336
9011906540
main90119-06540
9033907016
main90339-07016
9046712049
main90467-12049
9331915008
main93319-15008
12 parts on this diagram · 7 diagrams in section