E
EPC Data
Pricing
API Docs
Sign In
Home
›
JP
›
151130
›
VENTILATION HOSE
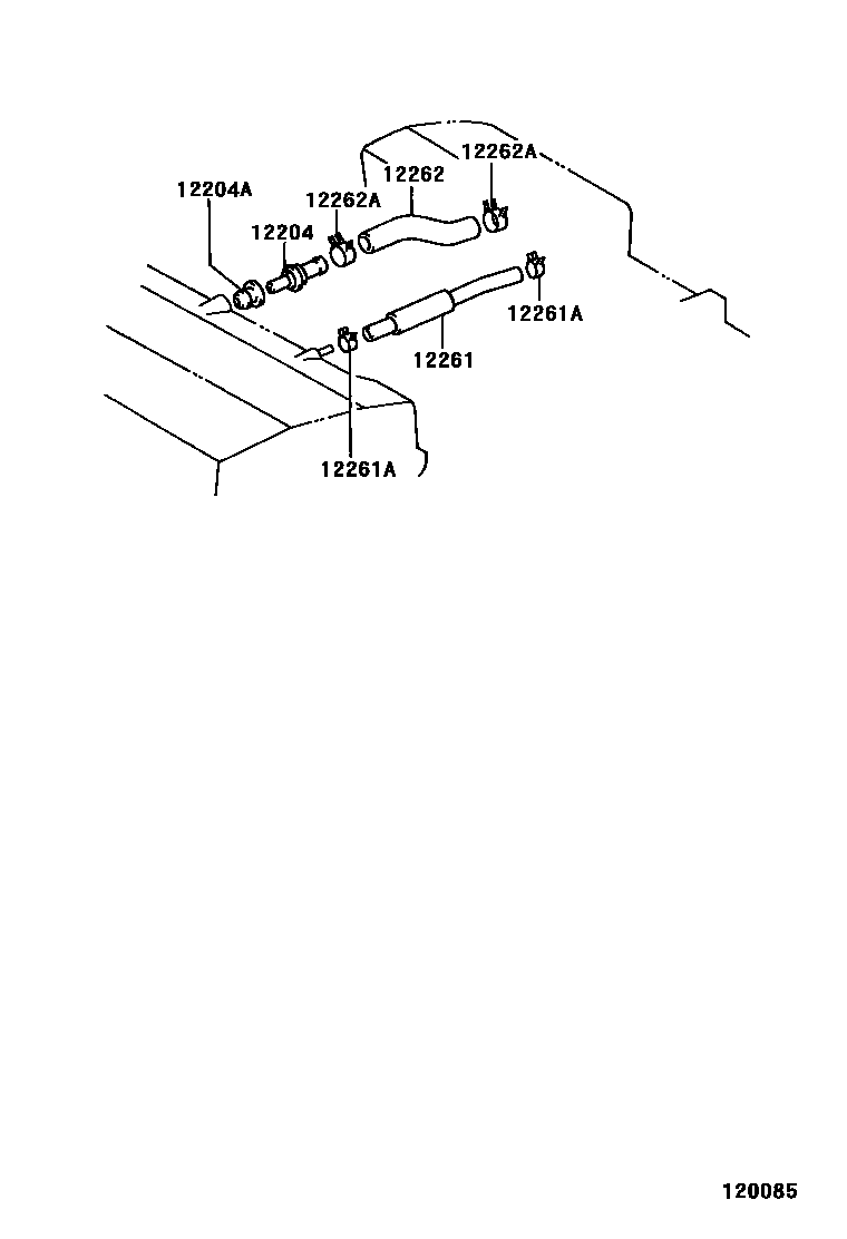
VENTILATION HOSE
0001 1
0002 1
0003 1
0005 1
0007 1
0008 1
0009 1
12204
VALVE SUB-ASSY, VENTILATION
main
12204-10020
i
3E..EE107,108
199109-199401
sub
12204-10030
main
12204-10030
i
5EFE..EE103,104
199401-199507
main
12204-10040
i
2E,4EFE..EE101,102,106
199106
main
12204-11040
i
5EFE..EE103,104
199507
main
12204-11050
i
4AGE..AE101
199106
main
12204-15050
i
4AFE,5AFE..AE10#
199106
12204A
GROMMET(FOR VENTILATION SYSTEM)
main
90480-18001
i
4A#,5AFE..AE10#
199106
main
90480-18006
i
2E,3E,4EFE,5EFE..EE10#
199106
12261
HOSE, VENTILATION
main
12261-11020
i
2E..EE106
199109-199401
main
12261-11050
i
3E..EE107,108
199109-199401
main
12261-11160
i
4EFE,5EFE..EE101,102,103,104
199106-199506
main
12261-11180
i
4EFE,5EFE..EE10#
199704
main
12261-11200
i
4EFE,5EFE..EE10#
199506-199704
main
12261-16070
i
4AGE..AE101
199106
main
12261-64090
i
2C..CE10#
199106-199205
main
12261-64110
i
2C..CE100,104
199305-199508
main
12261-64120
i
2C..CE106,108,109
199205-199401
main
12261-64190
i
2C..CE100
199505-199804
main
12261-64280
i
3CE..CE10#
199804
main
90445-10064
i
4AFE,5AFE..AE10#
199106-199505
main
90910-05222
i
5AFE..AE100
199505
12261A
CLIP OR CLAMP(FOR VENTILATION HOSE)
main
90467-10099
i
4AFE,5AFE..AE10#
199106-200204
sub
96132-51000
main
90467-15120
i
2C..CE10#
199205-199401
main
90467-15120
i
2C..CE10#
199106-199205
main
90467-18003
i
2C,3CE..CE10#
199401
main
90467-18003
i
2C..CE10#
199205-199401
main
96132-51000
i
4AFE..AE109
200204
12262
HOSE, VENTILATION, NO.2
main
12262-10020
i
2E,3E..EE106,107,108
199109-199401
main
12262-11050
i
4EFE,5EFE..EE101,102,103,104
199106
main
12262-16050
i
4AGE..AE101
199106-199505
main
12262-16060
i
4AGE..AE101
199605
main
90445-15063
i
4AFE,5AFE..AE10#
199106-199505
sub
90445-15067
main
90445-15068
i
5AFE..AE100
199505
12262A
CLIP(FOR VENTILATION HOSE NO.2)
main
90467-14001
i
4EFE,5EFE..EE10#
199505
main
90467-14017
i
4AFE,5AFE..AE100,104,109
199512
main
90467-14043
i
4EFE,5EFE..EE101,102,103,104
199106-199505
main
90467-15022
i
4AFE,5AFE..AE10#
199106-199304
main
90467-15027
i
4AFE,5AFE..AE10#
199304-199512
6 parts on this diagram · 7 diagrams in section
VENTILATION HOSE — Toyota Parts Diagram with OEM Numbers & Prices | EPC Data