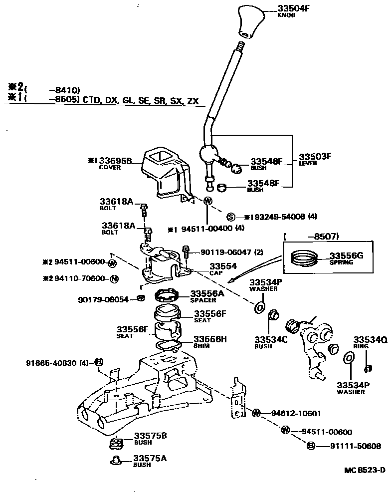
SHIFT LEVER & RETAINER

33504FKNOB SUB-ASSY, SHIFT LEVER
BLACK,BLACK,TRIM1#
GRAY,GRAY,TRIM1#
sub33504-24010
MAROON,RED/MAROON,TRIM3#
sub33542-12110
BROWN,BROWN,TRIM4#
sub33542-32040
33534CBUSH (FOR SELECTING BELLCRANK NO.1)
33534PWASHER, PLATE (FOR SELECTING BELLCRANK NO.1)
33534QRING, E (FOR SELECTING BELLCRANK NO.1)
33548FBUSH, NO.1, SHIFT LEVER (FOR FLOOR SHIFT)
33554CAP, SHIFT LEVER
33556ASPACER (FOR TRANSMISSION SHIFT LEVER BALL SEAT)
33556FSEAT, TRANSMISSION SHIFT LEVER BALL
LWR
UPR
33556GSPRING (FOR TRANSMISSION SHIFT LEVER BALL SEAT)
33556HSHIM (FOR TRANSMISSION SHIFT LEVER BALL SEAT)
33575ABUSH, NO.1 (FOR CONTROL SHIFT LEVER RETAINER)
33575BBUSH, NO.2 (FOR CONTROL SHIFT LEVER RETAINER)
33618ABOLT (FOR SELECTING BELLCRANK SUPPORT)
*6-1.00PX25-10
33695BCOVER, SELECTING SPRING (FOR FLOOR SHIFT)
9011906047
main90119-06047
9017908054
main90179-08054
9111150608
main91111-50608
9166540830
main91665-40830
9324954008
main93249-54008
9411070600
main94110-70600
9451100400
main94511-00400
9451100600
main94511-00600
9461210601
main94612-10601
24 parts on this diagram · 8 diagrams in section