EXHAUST PIPE

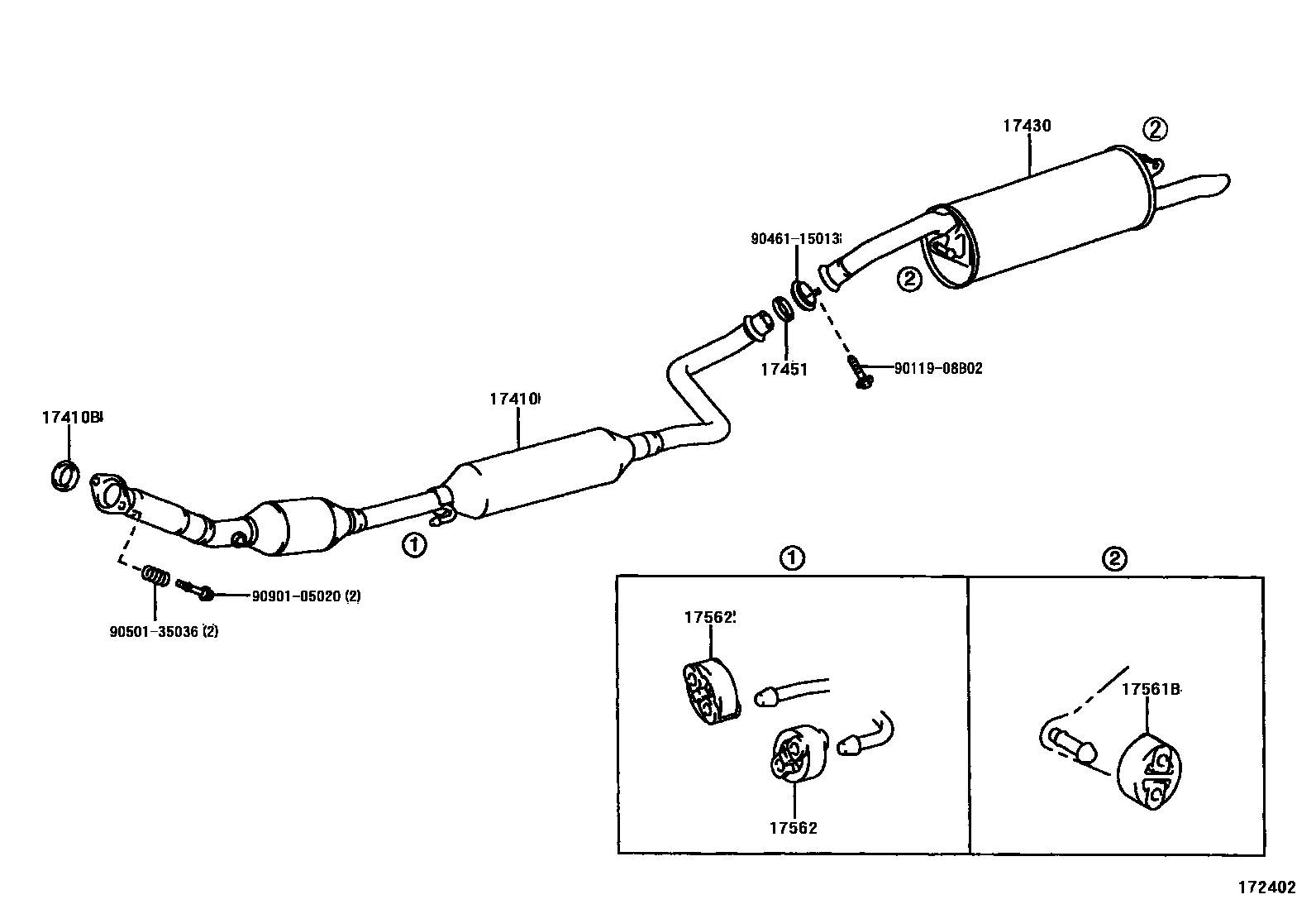
17410PIPE ASSY, EXHAUST, FRONT
17410BGASKET, EXHAUST PIPE
17430PIPE ASSY, EXHAUST, TAIL
17451GASKET, EXHAUST PIPE
17561BSUPPORT, EXHAUST PIPE, NO.1
17562SUPPORT, EXHAUST PIPE, NO.2
9011908B02
main90119-08B02
9046115013
main90461-15013
9050135036
main90501-35036
9090105020
main90901-05020
10 parts on this diagram · 1 diagram in section