E
EPC Data

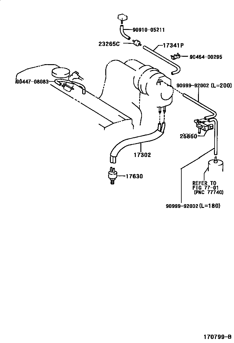
VACUUM PIPING

Parts diagram
17302HOSE SUB-ASSY, AIR
main17302-11011i199705
17341PHOSE, AIR
main17341-11390i199705
17630VALVE ASSY, AIR CONTROL
main17630-11070i199705
23265CFILTER, GAS
main90917-11030i199705
25860VALVE ASSY, VACUUM SWITCHING, NO.1
main25860-11320i199705-200204
main25860-11380i200204
7701FUEL TANK & TUBE
9044708083
9046400295
9091005211
9099992002

10 parts on this diagram · 3 diagrams in section

VACUUM PIPING — Toyota Parts Diagram with OEM Numbers & Prices | EPC Data