E
EPC Data

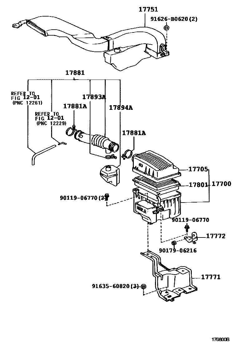
AIR CLEANER

Parts diagram
1201VENTILATION HOSE
17700CLEANER ASSY, AIR
main17700-11860i199705-200204
main17700-11861i200204
17705CAP SUB-ASSY, AIR CLEANER
main17705-11570i199705
17751INLET, AIR CLEANER, NO.1
main17750-11030i199705
17771BRACKET, AIR CLEANER INLET DUCT
main17771-11130i199705
17772BRACKET, INTAKE AIR CONNECTOR, NO.2
main17772-11030i199705
17801ELEMENT SUB-ASSY, AIR CLEANER FILTER
main17801-11050i199705
17881HOSE, AIR CLEANER, NO.1
main17880-11231i199705
17881ACLAMP(FOR AIR CLEANER HOSE, NO.1)
main96111-10690×2i199705
17893ACLAMP, HOSE
main96111-10380i199705
17894ARESONATOR, INTAKE AIR, NO.2
main17894-11120i199705
9011906770
9017906216
91626B0620
9163560820

15 parts on this diagram · 1 diagram in section

AIR CLEANER — Toyota Parts Diagram with OEM Numbers & Prices | EPC Data