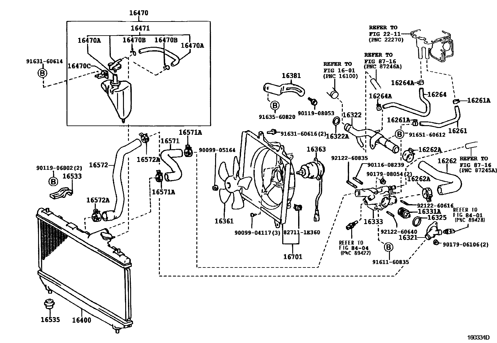
RADIATOR & WATER OUTLET

1601
16261HOSE, WATER BY-PASS
16262HOSE, WATER INLET
16264HOSE, WATER BY-PASS, NO.2
16321INLET, WATER
16322PIPE, WATER INLET
16322ARING, O(FOR WATER INLET)
16325GASKET, WATER INLET HOUSING, NO.1
16331ATHERMOSTAT
16333HOUSING, WATER OUTLET
16361FAN
16363MOTOR, COOLING FAN
16381BAR, FAN BELT ADJUSTING
16470TANK ASSY, RADIATOR RESERVE
16470AHOSE OR PIPE(FOR RADIATOR RESERVE TANK)
16470BCLAMP OR CLIP(FOR RADIATOR RESERVE TANK HOSE)
16470CBRACKET(FOR RADIATOR RESERVE TANK)
16471CAP SUB-ASSY, RESERVE TANK
16533SUPPORT, RADIATOR, UPPER
16535SUPPORT, RADIATOR, LOWER
16571HOSE, RADIATOR, INLET
16571ACLAMP OR CLIP, HOSE(FOR RADIATOR INLET)
16572HOSE, RADIATOR, OUTLET
16572ACLAMP OR CLIP, HOSE(FOR RADIATOR OUTLET NO.1)
16701SHROUD SUB-ASSY, FAN
2211
8401
8404
8716
827111E360WIRE, FUSE TO FUSE(FOR COMBUSTION HEATER)
main82711-1E360
9009904117
main90099-04117
9009905164
main90099-05164
9011608239
main90116-08239
9011906802
main90119-06802
9011908053
main90119-08053
9017906106
main90179-06106
9017908054
main90179-08054
9161160835
main91611-60835
9163160614
main91631-60614
9163160616
main91631-60616
9163560820
main91635-60820
9165160612
main91651-60612
9212260616
main92122-60616
9212260640
main92122-60640
9212260835
main92122-60835
49 parts on this diagram · 2 diagrams in section