E
EPC Data

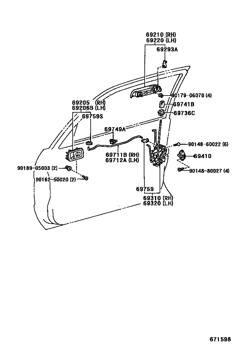
FRONT DOOR LOCK & HANDLE

Parts diagram
69205HANDLE SUB-ASSY, FRONT DOOR INSIDE, RH
main69205-16100-B0i199608
SHADOW GRAY,TRIM1#
main69206-10070-03i199508-199608
GRAY,TRIM1#
69206BHANDLE SUB-ASSY, FRONT DOOR INSIDE, LH
main69205-10070-03i199508-199608
GRAY,TRIM1#
main69206-16100-B0i199608
SHADOW GRAY,TRIM1#
69210HANDLE ASSY, FRONT DOOR, OUTSIDE RH
main69210-16091i199508-199901
main69210-16110-A0i199609-199712
SUPER WHITE 2,040
main69210-16110-B0i199608-199712
SILVER PEARL ME.,2BR
main69210-16110-B2i199712
CRYSTAL SILVER PEARL,2EH
main69210-16110-C0i199608
BLACK ME,205
main69210-16110-D0i199608
SUPER RED II,3E5
main69210-16110-F0i199610
main69210-16110-H0i199609-199712
TURQUOISE M.M.,756
main69210-16110-J0i199610-199712
PURPLISH BLUE M.M.,8K9
main69210-16110-J2i199802
BLUE M.M.,8L5
main69210-16120i199901
69220HANDLE ASSY, FRONT DOOR OUTSIDE, LH
main69220-16091i199508-199901
main69220-16110-A0i199609-199712
SUPER WHITE 2,040
main69220-16110-B0i199608-199712
SILVER PEARL ME.,2BR
main69220-16110-B2i199712
CRYSTAL SILVER PEARL,2EH
main69220-16110-C0i199608
BLACK ME,205
main69220-16110-D0i199608
SUPER RED II,3E5
main69220-16110-F0i199610
main69220-16110-H0i199609-199712
TURQUOISE M.M.,756
main69220-16110-J0i199610-199712
PURPLISH BLUE M.M.,8K9
main69220-16110-J2i199802
BLUE M.M.,8L5
main69220-16120i199901
69293ASNAP, FRONT DOOR OUTSIDE HANDLE
main69293-10010i199608
main69293-10020i199508-199608
69310LOCK ASSY, FRONT DOOR, RH
main69030-16160i199508
main69310-16320i199508
69320LOCK ASSY, FRONT DOOR, LH
main69040-16160i199508
main69320-16320i199508
69410PLATE ASSY, FRONT DOOR LOCK STRIKER
main69410-16010i199508-199608
69711BLINK, FRONT DOOR LOCK REMOTE CONTROL, RH
main69711-16100i199508-199608
69712ALINK, FRONT DOOR LOCK REMOTE CONTROL, LH
main69712-16100i199508-199608
69736CGUIDE, FRONT DOOR LOCKING LINK
main69736-16040i199508-199608
69741BKNOB, FRONT DOOR LOCK CONTROL
main69741-16030-B0i199608
SHADOW GRAY,TRIM1#
main69741-90K00-B2i199508-199608
SHADOW GRAY,TRIM1#
69749ACLAMP, FRONT DOOR LOCK LINK, NO.1
main69749-12070i199608-199907
main69749-50020i199508-199608
69759SNAP, DOOR LOCK CONTROL LINK, NO.1
main69759-20080i199508
main69759-20090i199508
69759SSNAP, FRONT DOOR INSIDE HANDLE
main69759-20060i199508
main69759-20070i199508
9014860022
9014880027
9016250020
9017906070
9018905003

20 parts on this diagram · 1 diagram in section

FRONT DOOR LOCK & HANDLE — Toyota Parts Diagram with OEM Numbers & Prices | EPC Data