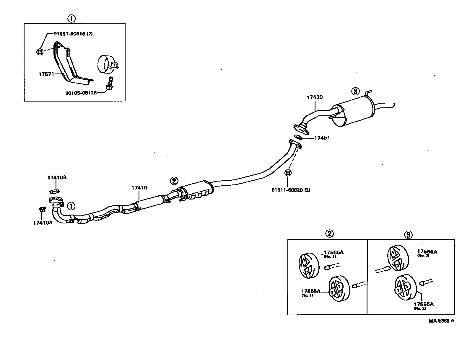
EXHAUST PIPE

17410PIPE ASSY, EXHAUST, FRONT
17410ANUT, EXHAUST PIPE SET STUD BOLT
17410BGASKET, EXHAUST PIPE
17430PIPE ASSY, EXHAUST, TAIL
17451GASKET, EXHAUST PIPE
17565ASUPPORT, EXHAUST PIPE, NO.4
17571BRACKET, EXHAUST PIPE SUPPORT, NO.1
9010508128
main90105-08128
9151160820
main91511-60820
9165160816
main91651-60816
10 parts on this diagram · 3 diagrams in section