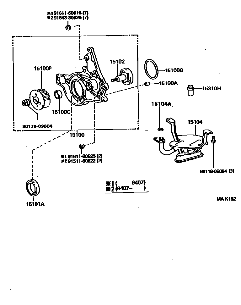
ENGINE OIL PUMP

15100APIN, RING(FOR OIL PUMP SET)
15100BRING, O(FOR OIL PUMP)
15100CSEAL(FOR OIL PUMP)
15100PPULLEY, OIL PUMP DRIVE SHAFT
15101ASEAL(FOR CRANKSHAFT)
15102ROTOR SET, OIL PUMP
15104STRAINER SUB-ASSY, OIL
15104ARING, O(FOR OIL STRAINER)
15310HREGULATOR ASSY, OIL
9011906084
main90119-06084
9017909004
main90179-09004
9151160622
main91511-60622
9161160616
main91611-60616
9161160625
main91611-60625
9164380620
main91643-80620
16 parts on this diagram · 1 diagram in section