E
EPC Data

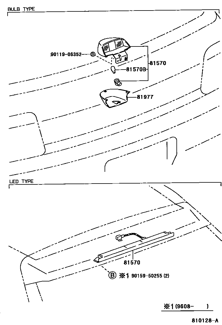
CENTER STOP LAMP

Parts diagram
81570LAMP ASSY, CENTER STOP
main81570-16130-B0i199409-199608
BLUISH GRAY,TRIM1#
main81570-16130-B1i199608
SHADOW GRAY,TRIM1#
main81570-16130-E0i199712
OAK,TRIM4#
main81570-16150i199409
81570BBULB (FOR CENTER STOP LAMP)
main90981-11039i199409
81977COVER, CENTER STOP LAMP
main81977-16080-B0i199409-199608
BLUISH GRAY,TRIM1#
main81977-16080-B1i199608
SHADOW GRAY,TRIM1#
main81977-16080-E0i199712
OAK,TRIM4#
9011906352
9015950255
9166540616

6 parts on this diagram · 1 diagram in section

CENTER STOP LAMP — Toyota Parts Diagram with OEM Numbers & Prices | EPC Data