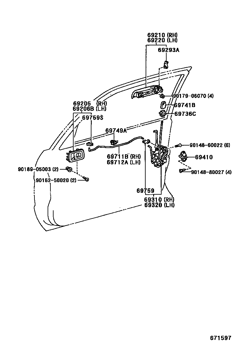
FRONT DOOR LOCK & HANDLE

69205HANDLE SUB-ASSY, FRONT DOOR INSIDE, RH
69206BHANDLE SUB-ASSY, FRONT DOOR INSIDE, LH
69293ASNAP, FRONT DOOR OUTSIDE HANDLE
69310LOCK ASSY, FRONT DOOR, RH
69320LOCK ASSY, FRONT DOOR, LH
69410PLATE ASSY, FRONT DOOR LOCK STRIKER
69711BLINK, FRONT DOOR LOCK REMOTE CONTROL, RH
69712ALINK, FRONT DOOR LOCK REMOTE CONTROL, LH
69736CGUIDE, FRONT DOOR LOCKING LINK
69741BKNOB, FRONT DOOR LOCK CONTROL
69749ACLAMP, FRONT DOOR LOCK LINK, NO.1
69759SNAP, DOOR LOCK CONTROL LINK, NO.1
9014860022
main90148-60022
9014880027
main90148-80027
9016250020
main90162-50020
9017906070
main90179-06070
9018905003
main90189-05003
20 parts on this diagram · 1 diagram in section