E
EPC Data

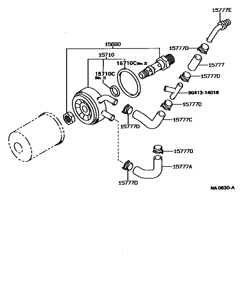
ENGINE OIL COOLER

Parts diagram
15690VALVE ASSY, OIL COOLER RELIEF
main15690-55020i199009-199409
15710COOLER ASSY, OIL
main15710-55020i199009-199409
15710CGASKET(FOR OIL COOLER)
main90301-24006i199009-199409
main90301-61003i199009-199409
15777HOSE, OIL COOLER
main15777-55020i199009-199409
15777AHOSE, OIL COOLER
main15778-55010i199009-199409
15777CHOSE, OIL COOLER
main15779-55010i199009-199409
15777DCLAMP OR CLIP, HOSE(FOR OIL COOLER HOSE)
main90467-20005×6i199009-199409
15777EUNION
main90404-53062i199009-199110
main90404-53073i199110-199409
9041314018

9 parts on this diagram · 1 diagram in section

ENGINE OIL COOLER — Toyota Parts Diagram with OEM Numbers & Prices | EPC Data