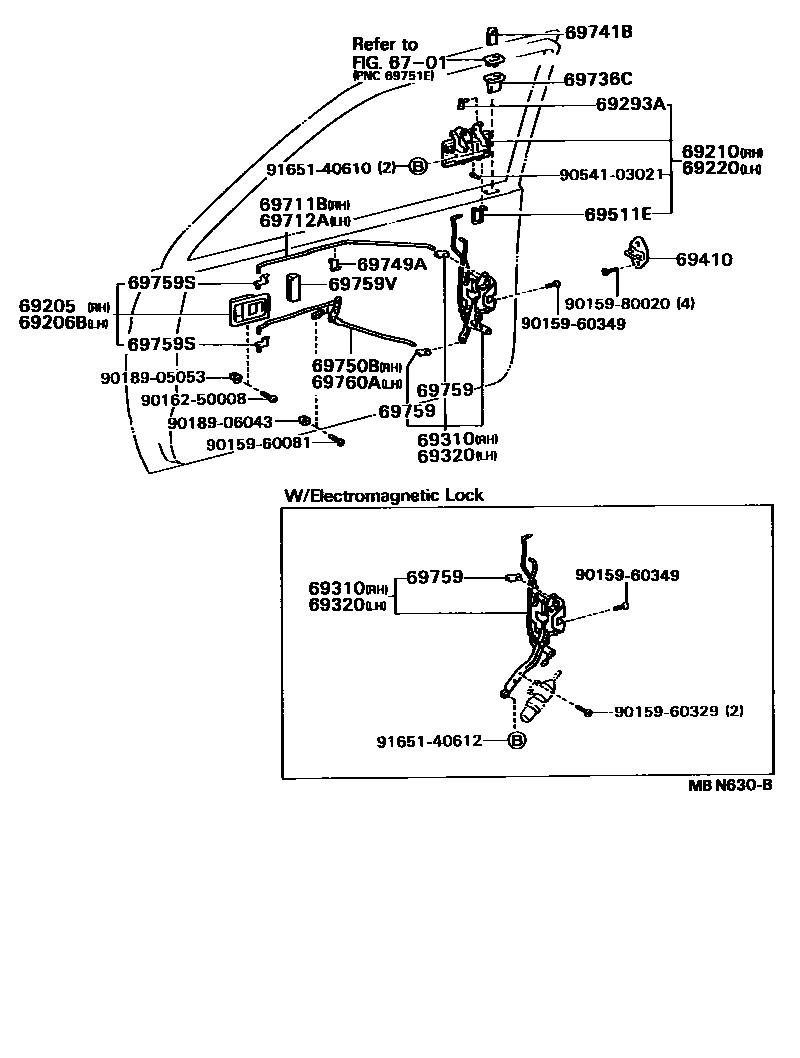
FRONT DOOR LOCK & HANDLE

6701
69205HANDLE SUB-ASSY, FRONT DOOR INSIDE, RH
NEW BLACK,TRIM2#
sub69205-16050
69206BHANDLE SUB-ASSY, FRONT DOOR INSIDE, LH
NEW BLACK,TRIM2#
sub69206-16050
69210HANDLE ASSY, FRONT DOOR, OUTSIDE RH
69220HANDLE ASSY, FRONT DOOR OUTSIDE, LH
69293ASNAP, FRONT DOOR OUTSIDE HANDLE
69410PLATE ASSY, FRONT DOOR LOCK STRIKER
69511ERETAINER, FRONT DOOR LOCK CYLINDER
69711BLINK, FRONT DOOR LOCK REMOTE CONTROL, RH
69712ALINK, FRONT DOOR LOCK REMOTE CONTROL, LH
69741BKNOB, FRONT DOOR LOCK CONTROL
69749ACLAMP, FRONT DOOR LOCK LINK, NO.1
69750BLINK ASSY, FRONT DOOR INSIDE LOCKING, RH
69759SNAP, DOOR LOCK CONTROL LINK, NO.1
LH,ORANGE
RH,PINK
LH,RED
RH,BLACK
69759SSNAP, FRONT DOOR INSIDE HANDLE
69759VSILENCER, FRONT DOOR LOCK LINK
sub69759-14010
69760ALINK ASSY, FRONT DOOR INSIDE LOCKING, LH
9015960081
main90159-60081
9015960329
main90159-60329
9015960349
main90159-60349
9015980020
main90159-80020
9016250008
main90162-50008
9018905053
main90189-05053
9018906043
main90189-06043
9054103021
main90541-03021
9165140610
main91651-40610
9165140612
main91651-40612
30 parts on this diagram · 1 diagram in section