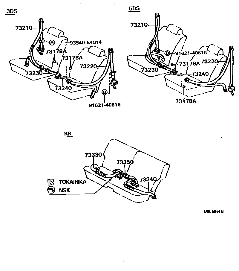
SEAT BELT & CHILD RESTRAINT SEAT

73178ACAP, SEAT BELT ANCHOR COVER
BLACK,TRIM2#
BLUE,TRIM8#
73210BELT ASSY, FRONT SEAT OUTER, RH
BLACK,TRIM2#
BLUE,TRIM8#
73220BELT ASSY, FRONT SEAT OUTER, LH
BLACK,TRIM2#
BLUE,TRIM8#
73230BELT ASSY, FRONT SEAT INNER, RH
73240BELT ASSY, FRONT SEAT INNER, LH
73330BELT ASSY, REAR SEAT LAP TYPE, RH
73340BELT ASSY, REAR SEAT LAP TYPE, LH
73350BELT ASSY, REAR SEAT LAP TYPE, CENTER
9162140616
main91621-40616
9354054014
main93540-54014
10 parts on this diagram · 1 diagram in section