E
EPC Data

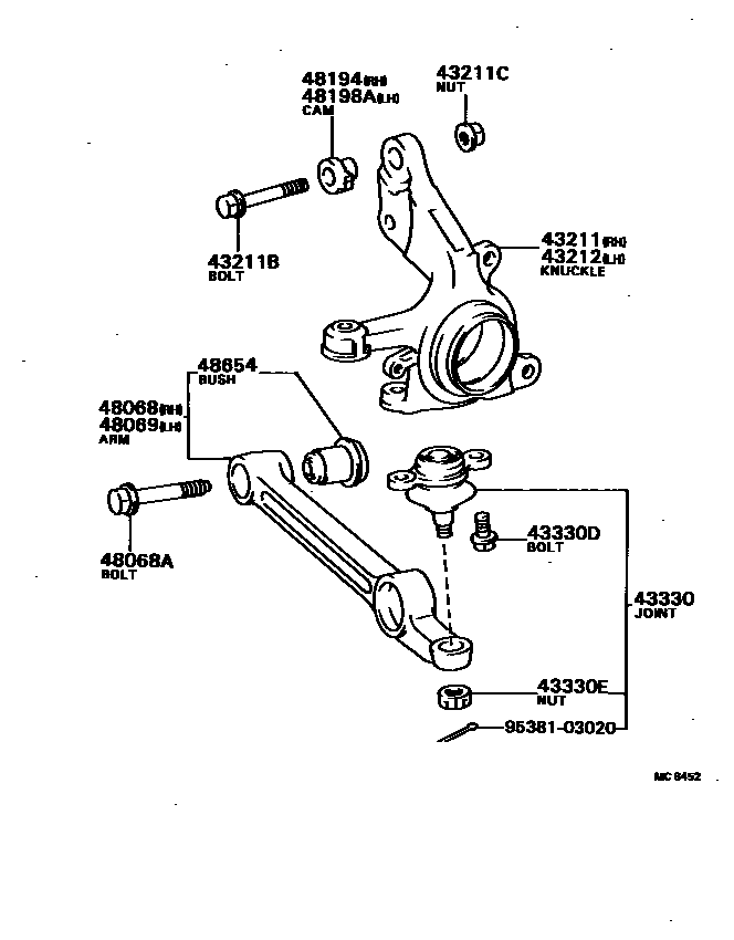
FRONT AXLE ARM & STEERING KNUCKLE

Parts diagram
43211KNUCKLE, STEERING, RH
main43211-16020i198205-198910
43211BBOLT (FOR ABSORBER SETTING)
main90105-12042×4i198205-198910
43211CNUT (FOR ABSORBER SETTING)
main90179-12025×4i198205-198212
main90179-12029×4i198212-198910
43212KNUCKLE, STEERING, LH
main43212-16020i198205-198910
43330JOINT ASSY, LOWER BALL, FRONT
main43330-19025×2i198205-198910
43330DBOLT (FOR FRONT LOWER BALL JOINT)
main90105-10057×4i198205-198910
43330ENUT, CASTLE (FOR FRONT LOWER BALL JOINT SETTING)
main94146-71200×2i198205-198910
48068ARM SUB-ASSY, FRONT SUSPENSION, LOWER NO.1 RH
main48068-16030i198205-198910
48068ABOLT(FOR FRONT SUSPENSION LOWER ARM)
main90105-12049×2i198205-198910
48069ARM SUB-ASSY, FRONT SUSPENSION, LOWER NO.1 LH
main48069-16030i198205-198910
48194CAM, CAMBER ADJUST, RH
main48194-16010i198205-198505
main48194-16011i198505-198910
48198ACAM, CAMBER ADJUST, LH
main48198-16010i198205-198505
main48198-16011i198505-198910
48654BUSH, LOWER ARM
main48654-16040×2i198205-198610
main48654-16050×2i198610-198910
9538103020

14 parts on this diagram · 1 diagram in section

FRONT AXLE ARM & STEERING KNUCKLE — Toyota Parts Diagram with OEM Numbers & Prices | EPC Data