E
EPC Data

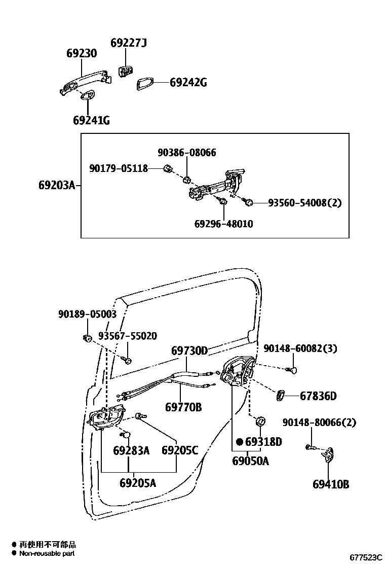
REAR DOOR LOCK & HANDLE

Parts diagram
67836DCOVER, REAR DOOR LOCK CHILD PROTECTION
main67836-12040i201207-201501
main67836-33030i201507
69050ALOCK ASSY, REAR DOOR W/MOTOR, RH
main69050-33120i201712
main69050-42021i201207-201507
69203AFRAME SUB-ASSY, REAR DOOR OUTSIDE HANDLE, RH
main69203-52090i201507
69205AHANDLE SUB-ASSY, REAR DOOR INSIDE, RH
main69205-52180-C0i201907
BLACK,TRIM42
main69205-52180-E0i201507
PLUM,TRIM0#,4#; PLUM,TRIM4#
main69205-52170-C0i201907
main69205-52170-E0i201404-201507
69205CCUSHION(FOR REAR DOOR INSIDE HANDLE)
main90541-04027i201207-201507
69227JCOVER, REAR DOOR OUTSIDE HANDLE, RH
main69227-60020-C0i201907
BLACK,070 ,3P0 ,4V6 ,8W2
main69227-60020-P2i201507
SILVER ME.,070 ,1F7 ,202 ,209 ,221 ,2TU ,2TV ,2TW ,3P0 ,3S7 ,4U3 ,4V7 ,4V9 ,576 ,783 ,8S1 ,8T7; SILVER ME.,070 ,1F7 ,202 ,209 ,221 ,3P0 ,3R9 ,4U3 ,588 ,5B8 ,6W2 ,8S1 ,8T7
main69207-30040-B2i201607-201712
main69227-30070i201607-201712
69230HANDLE ASSY, REAR DOOR OUTSIDE, RH
main69211-28070-C1i201907
BLACK,070 ,3P0 ,4V6 ,8W2
main69211-28070-P2i201207-201507
SILVER ME.,070 ,1F7 ,209 ,3P0 ,3R9 ,4U3 ,4V9 ,6W1 ,6W2 ,8S1 ,9AF; SILVER ME.,070 ,1F7 ,209 ,3P0 ,4U3 ,4V9 ,576 ,6W1 ,6W2 ,8S1 ,8S9 ,9AF; SILVER ME.,070 ,1F7 ,209 ,3P0 ,4U3 ,4V9 ,6W1 ,6W2 ,8S1 ,8S9 ,9AF; SILVER ME.,070 ,1F7 ,209 ,3P0 ,4U3 ,4V9 ,6W1 ,6W2 ,8S1 ,9AF
main69210-20420-B0i201207-201507
main69210-58010i201207-201507
69241GPAD, REAR DOOR OUTSIDE HANDLE, FRONT
main69241-28060i201207-201507
69242GPAD, REAR DOOR OUTSIDE HANDLE, REAR
main69242-60030i201207-201507
69283APLUG, REAR DOOR INSIDE HANDLE BEZEL, RH
main69283-52010-C0i201907
BLACK,TRIM42
main69283-52010-E0i201507
PLUM,TRIM0#,4#; PLUM,TRIM4#
69318DSEAL, DOOR LOCK WIRING HARNESS
main69318-51010i201207-201507
69410BPLATE ASSY, REAR DOOR LOCK STRIKER
main69410-20110i201507
69730DCABLE ASSY, REAR DOOR LOCK REMOTE CONTROL, RH
main69730-52190i201207-201507
69770BCABLE ASSY, REAR DOOR INSIDE LOCKING, RH
main69770-52120i201207-201507
6929648010SCREW, DOOR INSIDE HANDLE
9014860082
9014880066
9017905118
9018905003
9038608066
9356054008
9356755020

22 parts on this diagram · 1 diagram in section

REAR DOOR LOCK & HANDLE — Toyota Parts Diagram with OEM Numbers & Prices | EPC Data