E
EPC Data

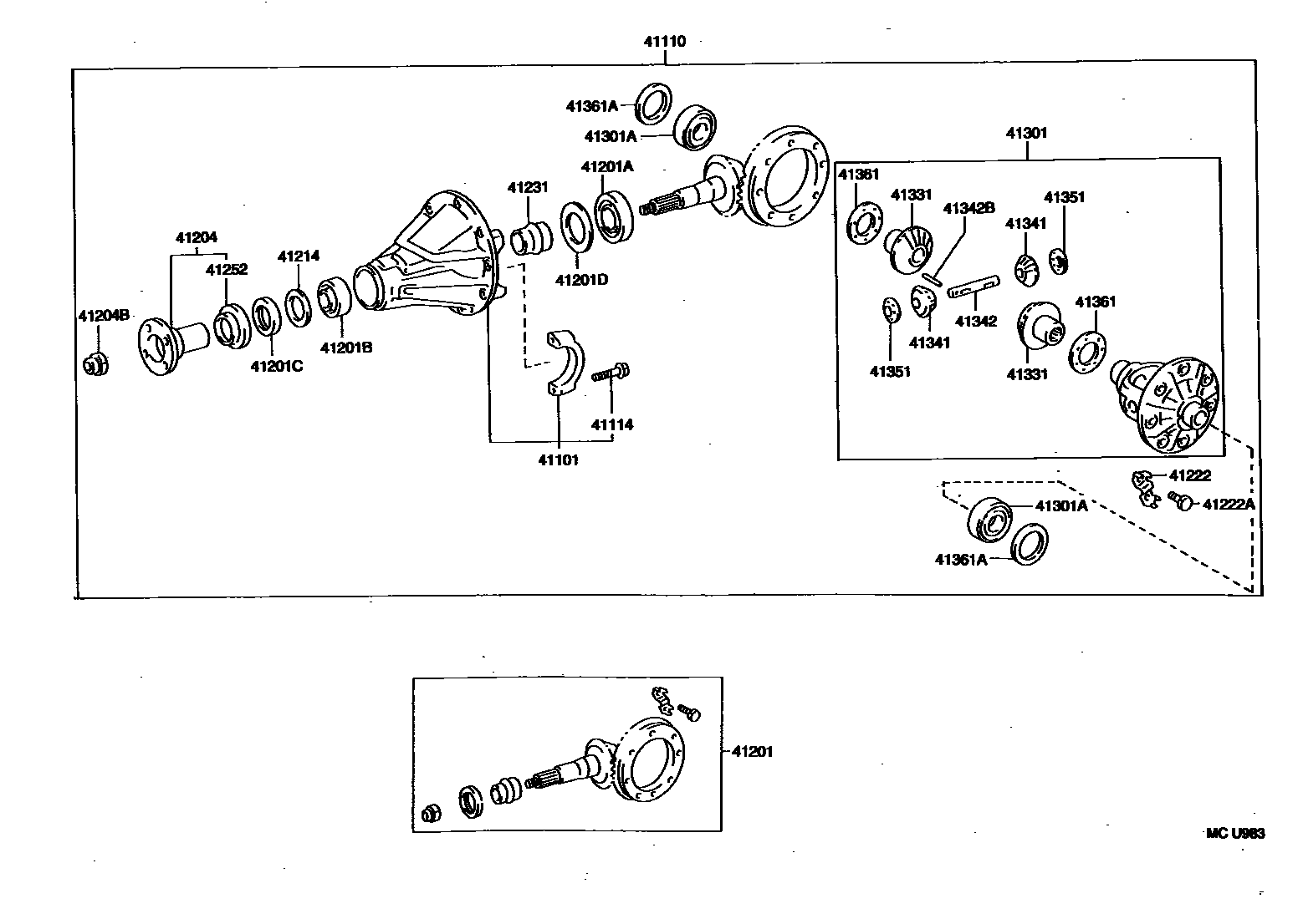
REAR AXLE HOUSING & DIFFERENTIAL

Parts diagram
41101CARRIER SUB-ASSY, DIFFERENTIAL, REAR
main41101-16010i199601-199710
main41101-16011i199710
41110CARRIER ASSY, DIFFERENTIAL, REAR
main41110-16140i199601-199901
main41110-16141i199901
41114BOLT, REAR DIFFERENTIAL BEARING CAP
main41114-16010×4i199601
41201FINAL GEAR KIT, DIFFERENTIAL, REAR
main41201-19615i199601-199901
main41201-19616i199901
41201ABEARING (FOR REAR DRIVE PINION REAR)
main90366-40058i199601
41201BBEARING (FOR REAR DRIVE PINION FRONT)
main90366-30047i199601
41201CSEAL, OIL (FOR REAR DIFFERENTIAL CARRIER)
main90311-38015i199601
41201DWASHER, PLATE (FOR REAR DIFFERENTIAL DRIVE PINION)
main90564-59026i199601
main90564-59027i199601
main90564-59028i199601
main90564-59029i199601
main90564-59030i199601
main90564-59031i199601
main90564-59032i199601
main90564-59033i199601
main90564-59034i199601
main90564-59035i199601
main90564-59036i199601
main90564-59037i199601
main90564-59038i199601
main90564-59039i199601
main90564-59040i199601
main90564-59041i199601
main90564-59042i199601
main90564-59043i199601
41204FLANGE SUB-ASSY, REAR DRIVE PINION COMPANION, REAR
main41204-20020i199601-199710
main41204-48020i199710
41204BNUT (FOR REAR DRIVE PINION)
main90179-18020i199601
41214SLINGER, REAR DIFFERENTIAL DRIVE PINION OIL
main41214-28010i199601
41222PLATE, REAR DIFFERENTIAL RING GEAR SET BOLT LOCK
main41222-12030×4i199601-199903
41222ABOLT (FOR REAR DIFFERENTIAL RING GEAR SET)
main90101-11365×8i199601-199903
main90105-11034×8i199903-199907
41231SPACER, REAR DIFFERENTIAL DRIVE PINION BEARING
main41231-16030i199601
41252DEFLECTOR, DUST (FOR REAR DIFFERENTIAL)
main41252-22010i199601-199710
main41252-48020i199710
41301CASE SUB-ASSY, REAR DIFFERENTIAL
main41301-16030i199601-199905
main41301-16031i199905-199907
41301ABEARING(FOR REAR DIFFERENTIAL CASE)
main90368-34011×2i199601
41331GEAR, REAR DIFFERENTIAL SIDE
main41331-16020×2i199601
41341PINION, REAR DIFFERENTIAL
main41341-10030×2i199601
41342SHAFT, REAR DIFFERENTIAL PINION
main41342-10050i199601
41342BPIN, STRAIGHT (FOR REAR DIFFERENTIAL PINION SHAFT)
main90250-04089i199601
41351WASHER, REAR DIFFERENTIAL PINION THRUST
main41351-10030×2i199601
41361WASHER, REAR DIFFERENTIAL SIDE GEAR THRUST, NO.1
main41361-12010×2i199601
main41361-12020×2i199601
main41361-12030×2i199601
main41361-12040×2i199601
main41361-12050×2i199601
main41361-12060×2i199601
41361ASHIM(FOR REAR DIFFERENTIAL SIDE GEAR THRUST)
main90564-51001i199601
main90564-51002i199601
main90564-51003i199601
main90564-51004i199601
main90564-51005i199601
main90564-51006i199601
main90564-51007i199601
main90564-51008i199601
main90564-51009i199601
main90564-51010i199601
main90564-51011i199601
main90564-51012i199601
main90564-51013i199601
main90564-51014i199601
main90564-51015i199601
main90564-51016i199601
main90564-51017i199601
main90564-51018i199601
main90564-51019i199601
main90564-51020i199601
main90564-51021i199601
main90564-51022i199601
main90564-51023i199601
main90564-51024i199601
main90564-51025i199601
main90564-51026i199601
main90564-51027i199601
main90564-51035i199601
main90564-51036i199601
main90564-51037i199601
main90564-51038i199601

24 parts on this diagram · 2 diagrams in section

REAR AXLE HOUSING & DIFFERENTIAL — Toyota Parts Diagram with OEM Numbers & Prices | EPC Data