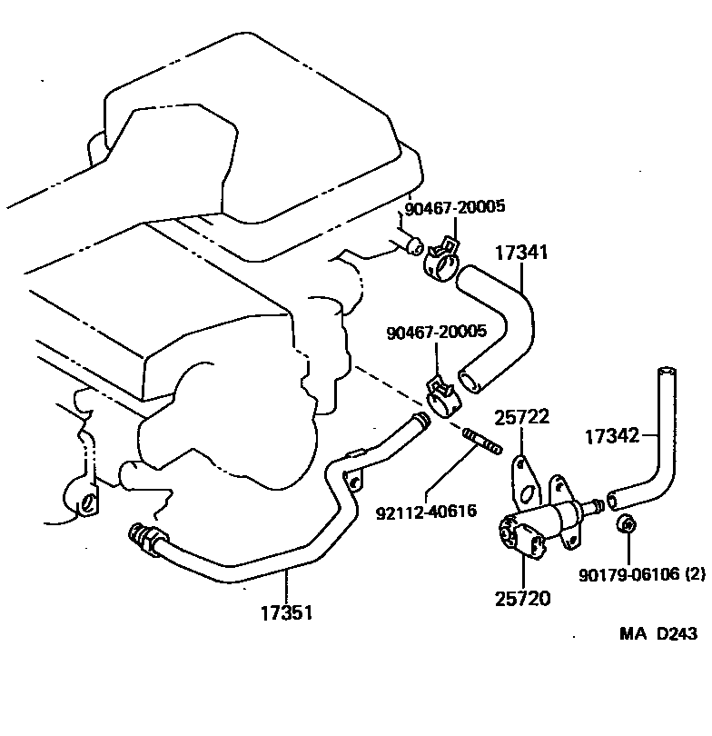
MANIFOLD AIR INJECTION SYSTEM

17341HOSE, NO.1(FOR AIR INJECTION SYSTEM)
17342HOSE, NO.2(FOR AIR INJECTION SYSTEM)
17351MANIFOLD, AIR INJECTION
25720VALVE ASSY, ELECTRIC AIR CONTROL
25722GASKET, ELECTRIC AIR CONTROL VALVE
9017906106
main90179-06106
9046720005
main90467-20005
9211240616
main92112-40616
8 parts on this diagram · 2 diagrams in section