E
EPC Data
Pricing
API Docs
Sign In
Home
›
JP
›
121140
›
VENTILATION HOSE
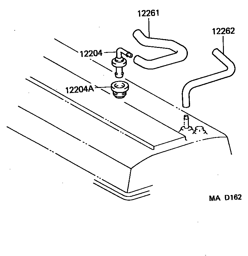
VENTILATION HOSE
0001 1
0002 1
0003 1
0004 1
12204
VALVE SUB-ASSY, VENTILATION
main
12204-10040
i
4EF#..EP8#
198912-199601
12204A
GROMMET(FOR VENTILATION SYSTEM)
main
90480-18006
i
4EF#..EP8#
198912-199601
12261
HOSE, VENTILATION
main
12261-11100
i
4EFE..EP8#
198912-199601
main
12261-11110
i
4EFTE..EP82
198912-199601
main
12261-11130
i
4EF..EP8#
198912-199201
main
12261-55020
i
1N..NP80
198912-199509
12262
HOSE, VENTILATION, NO.2
main
12262-11050
i
4EFE,4EFTE..EP8#
198912-199601
main
12262-11070
i
4EF..EP8#
198912-199201
4 parts on this diagram · 4 diagrams in section
VENTILATION HOSE — Toyota Parts Diagram with OEM Numbers & Prices | EPC Data