E
EPC Data

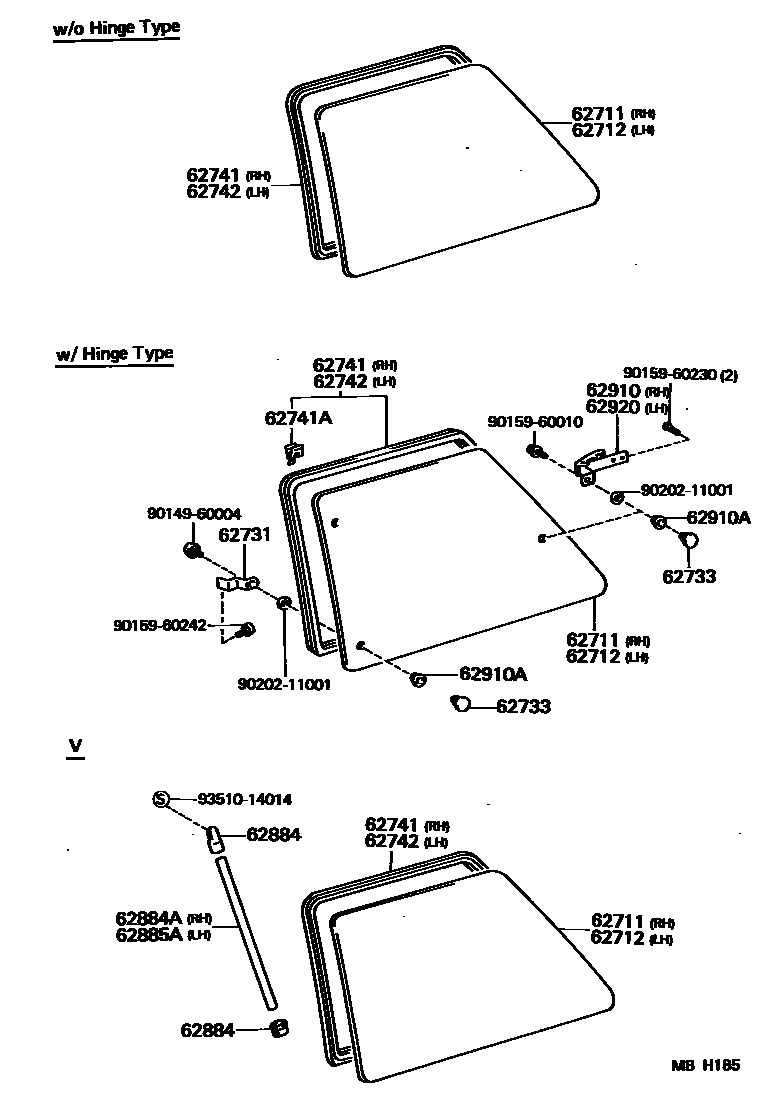
QUARTER WINDOW

Parts diagram
62711GLASS, QUARTER WINDOW, RH
main62711-10180i198410-198912
main62711-10190i198410-198601
main62711-10200i198410-198601
main62711-10210i198508-198612
main62711-10240i198708-198709
TURBO S LIMITED,BRONZE,T=4.0
main62711-10250i198812-198912
SOLEIL-L,*TEM,BRONZE,T=3.5
main62711-10260i198901-198903
TURBO S LIMITED
62712GLASS, QUARTER WINDOW, LH
main62712-10130i198410-198912
main62712-10140i198601-198912
main62712-10150i198410-198601
main62712-10160i198508-198612
main62712-10180i198804-198912
W/*HSL,BRONZE,T=4.0
main62712-10190i198812-198912
SOLEIL-L,*TEM,BRONZE,T=3.5
main62712-10200i198901-198903
TURBO S LIMITED
62731PLATE, QUARTER OR SIDE WINDOW HINGE
main62731-10090×4i198410-198912
62733RETAINER, QUARTER OR SIDE WINDOW HINGE
main62735-14010×6i198410-198912
62741WEATHERSTRIP, QUARTER WINDOW, RH
main62741-10070i198410-198912
W/O HINGE
main62741-10080i198410-198912
W/HINGE
62741ACLIP, QUARTER WINDOW WEATHERSTRIP
main62759-12010×10i198410-198912
62742WEATHERSTRIP, QUARTER WINDOW, LH
main62742-10070i198410-198912
W/O HINGE
main62742-10080i198410-198912
W/HINGE
62884BRACKET, SIDE WINDOW GUARD
main62881-10010×2i198410-198912
LWR
main62881-13030×2i198410-198912
UPR
62884AGUARD, QUARTER WINDOW, RH
main62884-10010i198410-198912
62885AGUARD, QUARTER WINDOW, LH
main62884-10010i198410-198912
62910LOCK ASSY, QUARTER OR SIDE WINDOW, RH
main62910-10070i198410-198912
62910AGASKET(FOR QUARTER OR SIDE WINDOW LOCK OR HINGE)
main90385-11001×6i198410-198912
62920LOCK ASSY, QUARTER WINDOW, LH
main62910-10070i198410-198912
9014960004
9015960010
9015960230
9015960242
9020211001
9351014014

19 parts on this diagram · 1 diagram in section

QUARTER WINDOW — Toyota Parts Diagram with OEM Numbers & Prices | EPC Data