E
EPC Data

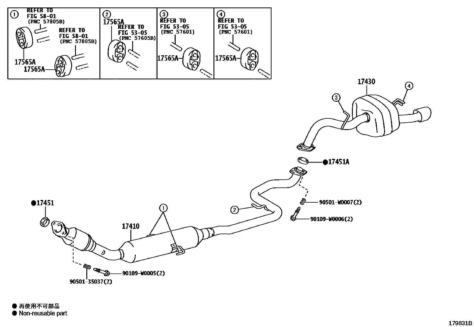
EXHAUST PIPE

Parts diagram
17410PIPE ASSY, EXHAUST, FRONT
main17410-37C10i201711
17430PIPE ASSY, EXHAUST, TAIL
main17430-37790i201711
17451GASKET, EXHAUST PIPE
main17451-0R010i201711
17451AGASKET, EXHAUST PIPE, NO.2
main17451-28022i201711
17565ASUPPORT, EXHAUST PIPE, NO.4
main17565-0Q030×5i201711
5305FLOOR SIDE MEMBER
5801FLOOR PAN & LOWER BACK PANEL
90109W0005
90109W0006
9050135037
90501W0007

11 parts on this diagram · 1 diagram in section

EXHAUST PIPE — Toyota Parts Diagram with OEM Numbers & Prices | EPC Data