E
EPC Data

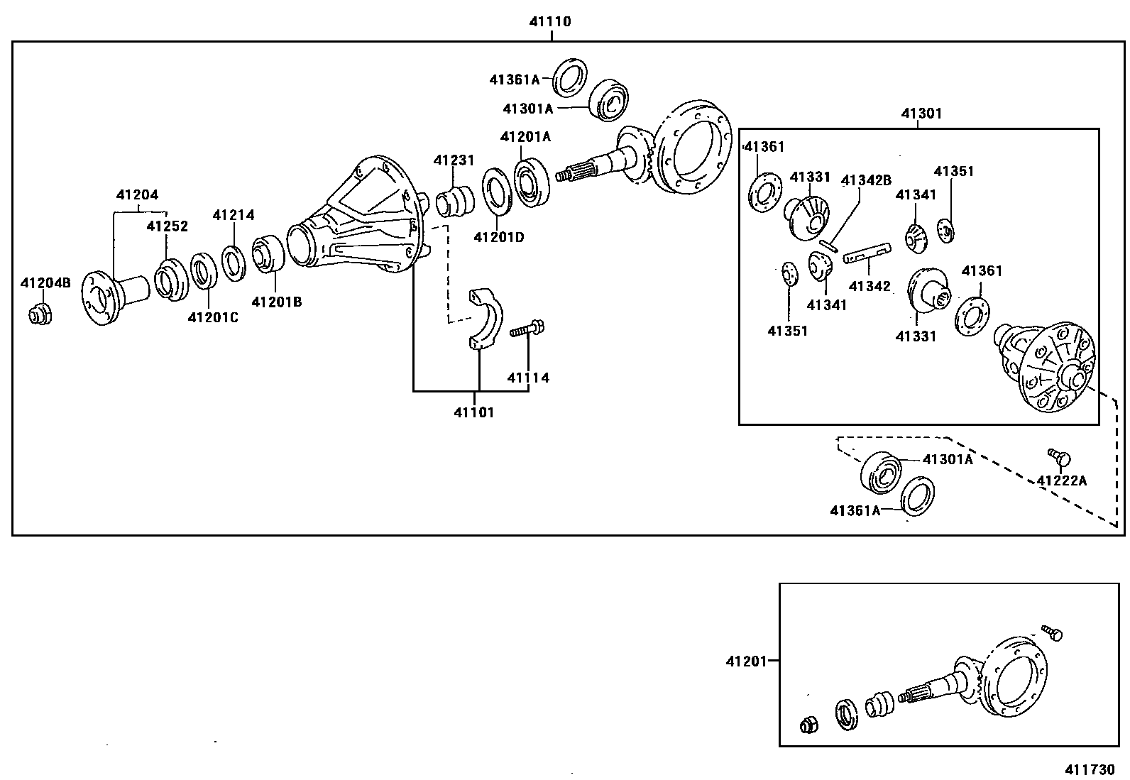
REAR AXLE HOUSING & DIFFERENTIAL

Parts diagram
41101CARRIER SUB-ASSY, DIFFERENTIAL, REAR
main41101-16011i200209
41110CARRIER ASSY, DIFFERENTIAL, REAR
main41110-16141i200209-200507
41114BOLT, REAR DIFFERENTIAL BEARING CAP
main41114-16010×4i200209
41201FINAL GEAR KIT, DIFFERENTIAL, REAR
main41201-19616i200209
41201ABEARING (FOR REAR DRIVE PINION REAR)
main90366-40058i200209
41201BBEARING (FOR REAR DRIVE PINION FRONT)
main90366-30047i200209
41201CSEAL, OIL (FOR REAR DIFFERENTIAL CARRIER)
main90311-38015i200209
41201DWASHER, PLATE (FOR REAR DIFFERENTIAL DRIVE PINION)
main90564-59026i200209
main90564-59027i200209
main90564-59028i200209
main90564-59029i200209
main90564-59030i200209
main90564-59031i200209
main90564-59032i200209
main90564-59033i200209
main90564-59034i200209
main90564-59035i200209
main90564-59036i200209
main90564-59037i200209
main90564-59038i200209
main90564-59039i200209
main90564-59040i200209
main90564-59041i200209
main90564-59042i200209
main90564-59043i200209
41204FLANGE SUB-ASSY, REAR DRIVE PINION COMPANION, REAR
main41204-48020i200209
41204BNUT (FOR REAR DRIVE PINION)
main90179-18020i200209
41214SLINGER, REAR DIFFERENTIAL DRIVE PINION OIL
main41214-28010i200209
41222ABOLT (FOR REAR DIFFERENTIAL RING GEAR SET)
main90105-11034×8i200209
41231SPACER, REAR DIFFERENTIAL DRIVE PINION BEARING
main41231-16030i200209
41252DEFLECTOR, DUST (FOR REAR DIFFERENTIAL)
main41252-48020i200209
41301CASE SUB-ASSY, REAR DIFFERENTIAL
main41301-16031i200209
41301ABEARING(FOR REAR DIFFERENTIAL CASE)
main90368-34011×2i200209
41331GEAR, REAR DIFFERENTIAL SIDE
main41331-16020×2i200209
41341PINION, REAR DIFFERENTIAL
main41341-10030×2i200209
41342SHAFT, REAR DIFFERENTIAL PINION
main41342-10050i200209
41342BPIN, STRAIGHT (FOR REAR DIFFERENTIAL PINION SHAFT)
main90250-04089i200209
41351WASHER, REAR DIFFERENTIAL PINION THRUST
main41351-10030×2i200209
41361WASHER, REAR DIFFERENTIAL SIDE GEAR THRUST, NO.1
main41361-12010×2i200209
main41361-12020×2i200209
main41361-12030×2i200209
main41361-12040×2i200209
main41361-12050×2i200209
main41361-12060×2i200209
41361ASHIM(FOR REAR DIFFERENTIAL SIDE GEAR THRUST)
main90564-51001i200209
main90564-51002i200209
main90564-51003i200209
main90564-51004i200209
main90564-51005i200209
main90564-51006i200209
main90564-51007i200209
main90564-51008i200209
main90564-51009i200209
main90564-51010i200209
main90564-51011i200209
main90564-51012i200209
main90564-51013i200209
main90564-51014i200209
main90564-51015i200209
main90564-51016i200209
main90564-51017i200209
main90564-51018i200209
main90564-51019i200209
main90564-51020i200209
main90564-51021i200209
main90564-51022i200209
main90564-51023i200209
main90564-51024i200209
main90564-51025i200209
main90564-51026i200209
main90564-51027i200209
main90564-51035i200209
main90564-51036i200209
main90564-51037i200209
main90564-51038i200209

23 parts on this diagram · 2 diagrams in section

REAR AXLE HOUSING & DIFFERENTIAL — Toyota Parts Diagram with OEM Numbers & Prices | EPC Data