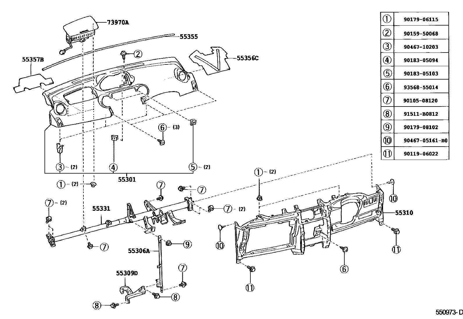
INSTRUMENT PANEL & GLOVE COMPARTMENT

55301PANEL SUB-ASSY, INSTRUMENT
DK.GRAY,TRIM1#; DK.GRAY,TRIM1#,9#
55306ABRACE SUB-ASSY, INSTRUMENT PANEL, NO.1
55309DBRACE SUB-ASSY, INSTRUMENT PANEL TO FLOOR
55310PANEL ASSY, INSTRUMENT, LOWER
DK.GRAY,TRIM1#; DK.GRAY,TRIM1#,9#
55331REINFORCEMENT, INSTRUMENT PANEL
55355CUSHION, INSTRUMENT PANEL, NO.1
55356CCUSHION, INSTRUMENT PANEL, NO.2
55357BCUSHION, INSTRUMENT PANEL, NO.3
73970AAIRBAG ASSY, INSTRUMENT PANEL PASSENGER
DK.GRAY,TRIM1#; DK.GRAY,TRIM1#,9#
9010508120
main90105-08120
9011906022
main90119-06022
9015950068
main90159-50068
9017906115
main90179-06115
9017908102
main90179-08102
9018305094
main90183-05094
9018305103
main90183-05103
9046705161B0
main90467-05161B0
9046710203
main90467-10203
91511B0812
main91511-B0812
9356855014
main93568-55014
20 parts on this diagram · 4 diagrams in section