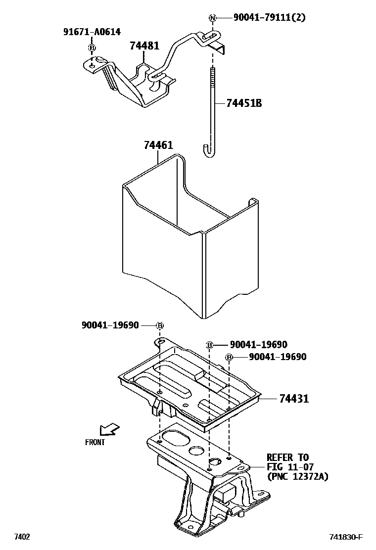
BATTERY CARRIER

1107MOUNTING
74451BBOLT, BATTERY CLAMP
74481CLAMP, BATTERY HOLD DOWN
9004119690
main90041-19690
9004179111
main90041-79111
91671A0614
main91671-A0614
8 parts on this diagram · 1 diagram in section

8 parts on this diagram · 1 diagram in section