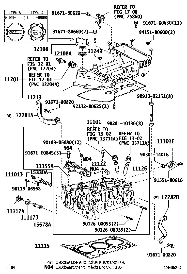
CYLINDER HEAD

11101HEAD SUB-ASSY, CYLINDER
11101ESENSOR, CAM POSITION
11101JVALVE ASSY, CAMSHAFT TIMING OIL CONTROL
11115GASKET, CYLINDER HEAD
11117APLUG, W/HEAD TAPER SCREW, NO.1
11117JGASKET(FOR CYLINDER HEAD SCREW PLUG)
11122BUSH, INTAKE VALVE GUIDE
11126BUSH, EXHAUST VALVE GUIDE
11155APIN, RING W/HEAD
11201COVER SUB-ASSY, CYLINDER HEAD
11213GASKET, CYLINDER HEAD COVER
11249GROMMET, CYLINDER HEAD COVER
1201VENTILATION HOSE
12108CAP SUB-ASSY, OIL FILLER
12108AGASKET(FOR OIL FILLER CAP)
12281AHANGER, ENGINE, NO.1
12282DHANGER, ENGINE, NO.2
1302CAMSHAFT & VALVE
15330ARING, O(FOR CAM TIMING OIL CONTROL VALVE)
15678AFILTER, OIL CONTROL VALVE
1708VACUUM PIPING
9010906080
main90109-06080
9011906968
main90119-06968
9012608055
main90126-08055
9020110136
main90201-10136
9030114016
main90301-14016
9091002151
main90910-02151
9155180616
main91551-80616
9167180620
main91671-80620
9167180630
main91671-80630
9167180660
main91671-80660
9167180820
main91671-80820
91671E0845
main91671-E0845
9213280625
main92132-80625
9415180600
main94151-80600
35 parts on this diagram · 2 diagrams in section