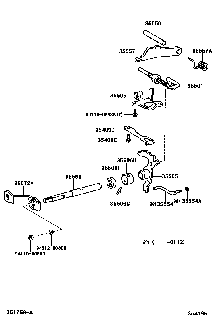
THROTTLE LINK & VALVE LEVER (ATM)

35409DSPRING SUB-ASSY, MANUAL DETENT
35409EBOLT(FOR MANUAL DETENT SPRING)
35501ROD SUB-ASSY, PARKING LOCK
35505LEVER SUB-ASSY, MANUAL VALVE
35506CPIN, SLOTTED SPRING (FOR MANUAL VALVE LEVER SHAFT)
35506FSEAL, OIL (FOR MANUAL VALVE LEVER SHAFT)
35506HSPACER (FOR MANUAL VALVE LEVER SHAFT)
35554ROD, MANUAL VALVE CONNECTING
35554ARING, E (FOR MANUAL VALVE CONNECTING ROD)
35556SHAFT, PARKING LOCK PAWL
35557PAWL, PARKING LOCK
35557ASPRING, TORSION (FOR PARKING LOCK PAWL)
35561SHAFT, MANUAL VALVE LEVER
35572ALEVER, TRANSMISSION CONTROL SHAFT
35595BRACKET, PARKING LOCK PAWL
9011906886
main90119-06886
9411050800
main94110-50800
9451200800
main94512-00800
18 parts on this diagram · 2 diagrams in section