E
EPC Data

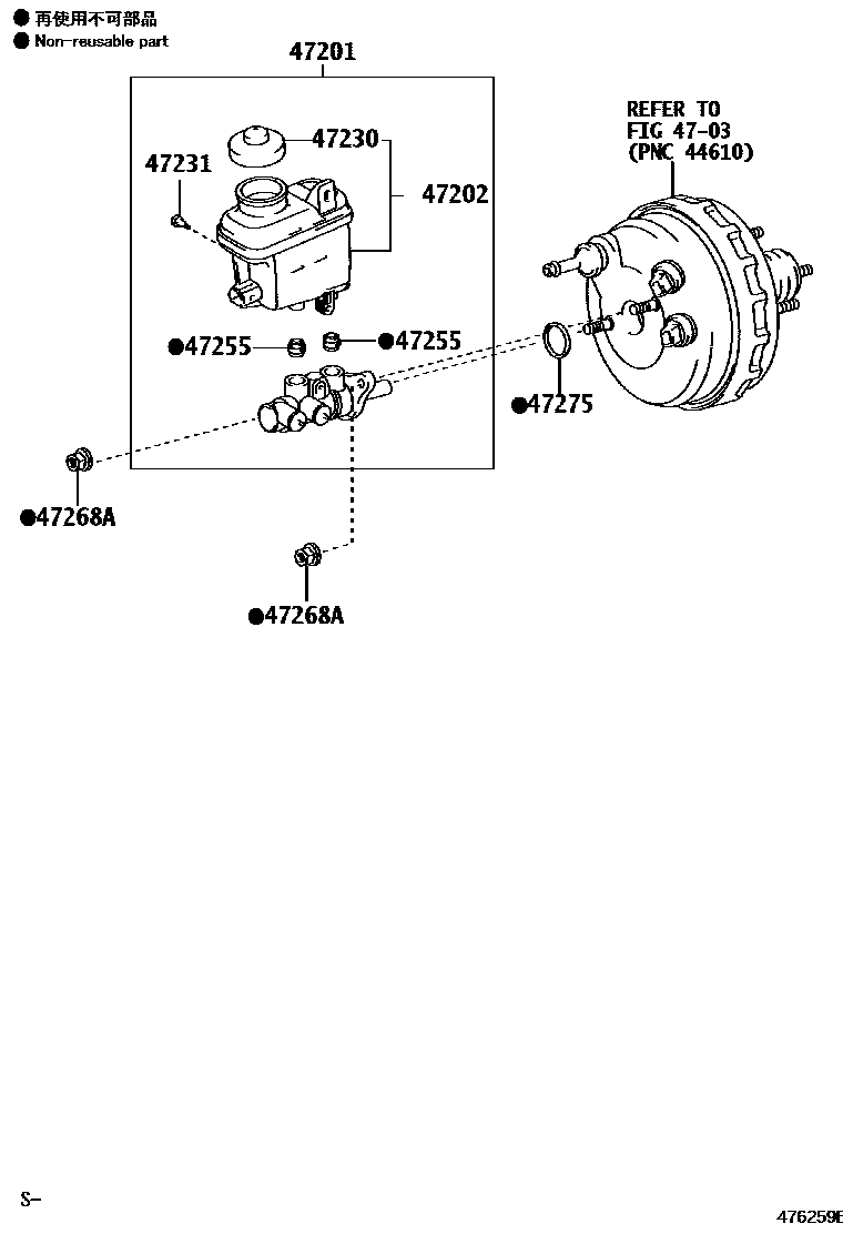
BRAKE MASTER CYLINDER

Parts diagram
4703BRAKE BOOSTER & VACUUM TUBE
47201CYLINDER SUB-ASSY, BRAKE MASTER
main47201-0C070i200811-201609
47202RESERVOIR SUB-ASSY, BRAKE MASTER CYLINDER
main47220-0C060i200811-201609
47230CAP ASSY, BRAKE MASTER CYLINDER RESERVOIR FILLER
main47230-01030i200811-201502
main47230-01031i201503-201609
47231BOLT, BRAKE MASTER CYLINDER RESERVOIR SET
main47231-0C020i200811-201609
47255GROMMET, MASTER CYLINDER RESERVOIR
main47256-0C010×2i200811-201609
47268ANUT, BRAKE MASTER CYLINDER
main47268-0C010×2i200811-201609
47275GASKET, BRAKE MASTER CYLINDER
main47275-0C010i200811-201609

8 parts on this diagram · 1 diagram in section