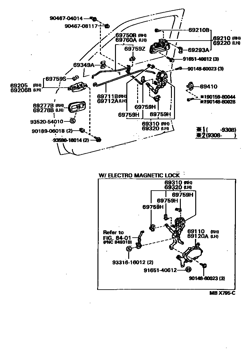
FRONT DOOR LOCK & HANDLE

69110ACTUATOR ASSY, FRONT DOOR LOCK, RH
69120AACTUATOR ASSY, FRONT DOOR LOCK, LH
69205HANDLE SUB-ASSY, FRONT DOOR INSIDE, RH
GRAY,TRIM1#
OAK,TRIM4#
69206BHANDLE SUB-ASSY, FRONT DOOR INSIDE, LH
GRAY,TRIM1#
OAK,TRIM4#
69210HANDLE ASSY, FRONT DOOR, OUTSIDE RH
METAL PLATING PACKAGE
69210BCUSHION(FOR FRONT DOOR OUTSIDE HANDLE)
69220HANDLE ASSY, FRONT DOOR OUTSIDE, LH
METAL PLATING PACKAGE
69277BBEZEL, FRONT DOOR INSIDE HANDLE, RH
69278BBEZEL, FRONT DOOR INSIDE HANDLE, LH
69293ASNAP, FRONT DOOR OUTSIDE HANDLE
NATURAL
YELLOW
69310LOCK ASSY, FRONT DOOR, RH
69320LOCK ASSY, FRONT DOOR, LH
69349ACLAMP, DOOR LOCK LINK
69410PLATE ASSY, FRONT DOOR LOCK STRIKER
69711BLINK, FRONT DOOR LOCK REMOTE CONTROL, RH
69712ALINK, FRONT DOOR LOCK REMOTE CONTROL, LH
69750BLINK ASSY, FRONT DOOR INSIDE LOCKING, RH
69759HSNAP, DOOR LOCK CONTROL LINK, NO.2
RED
BLACK
NATURAL(L=14.5)
BLUE
NATURAL(L=18.5)
69759SSNAP, FRONT DOOR INSIDE HANDLE
ORANGE
VIOLET
69759ZSNAP, DOOR LOCK CONTROL LINK
NATURAL
BLUE
69760ALINK ASSY, FRONT DOOR INSIDE LOCKING, LH
8401
9014860023
main90148-60023
9014880028
main90148-80028
9015980044
main90159-80044
9018906018
main90189-06018
9046704014
main90467-04014
9046708117
main90467-08117
9165140612
main91651-40612
9331616012
main93316-16012
9352054010
main93520-54010
9359016014
main93590-16014
32 parts on this diagram · 1 diagram in section