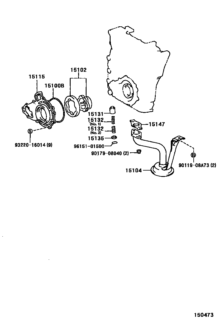
ENGINE OIL PUMP

15100BRING, O(FOR OIL PUMP)
15102ROTOR SET, OIL PUMP
15104STRAINER SUB-ASSY, OIL
15115COVER, OIL PUMP
15131VALVE, OIL PUMP RELIEF
15132SPRING, OIL PUMP RELIEF VALVE
NO.1
NO.2
15135RETAINER, OIL PUMP RELIEF VALVE
15147GASKET, OIL STRAINER
9011908A73
main90119-08A73
9017908040
main90179-08040
9322016014
main93220-16014
9615101500
main96151-01500
12 parts on this diagram · 1 diagram in section