E
EPC Data

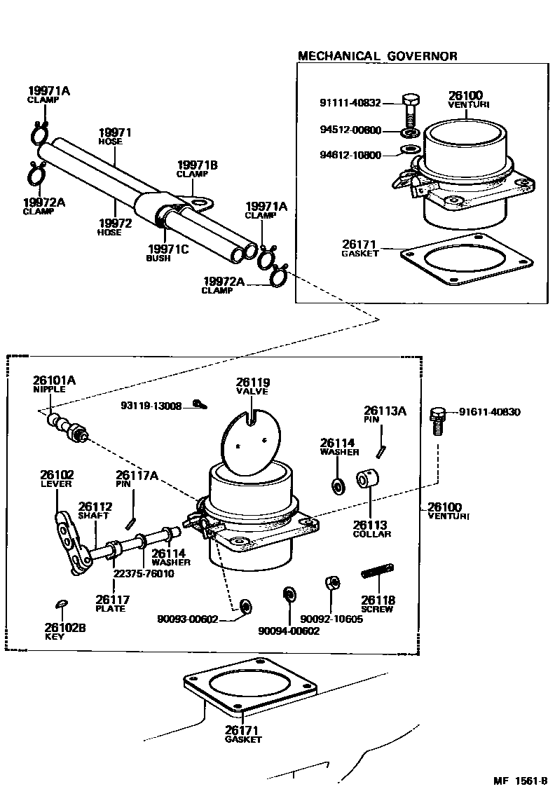
VENTURI

Parts diagram
19971PIPE, VACUUM(FOR VENTURI)
main90446-12155i196903-197704
main90446-12156i197704-200112
19971ACLAMP(FOR VENTURI VACUUM PIPE END)
main90467-11012×2i196903-197010
main90467-11085×2i197010-197704
19971BCLAMP(FOR VENTURI PIPE)
main19973-76010i196903-197704
main90461-10188i197704-200112
19971CBUSH(FOR VENTURI PIPE CLAMP)
main90386-12049×2i196903-197704
19972PIPE, AIR CLEANER VENT
main90446-12155i196903-197704
main90446-12156i197704-200112
19972ACLAMP(FOR AIR CLEANER VENT PIPE END)
main90467-11012×2i196903-197010
main90467-11085×2i197010-197704
26100VENTURI ASSY
main17861-77040i197204-197403
W/MECHANICAL GOVERNOR
main26100-76030i196903-197704
main26100-77070i197704-197811
main26100-77080i197811-200112
main26100-77090i197901-200112
SOUTH AFRICA SPEC
26101ANIPPLE(FOR VENTURI PIPE)
main90404-12018i196903-198004
26102LEVER SUB-ASSY, THROTTLE SHAFT ADJUSTING
main26102-76021i196903-197704
ISO
main26102-77070i197704-200112
26102BKEY(FOR ADJUSTING LEVER)
main90099-13001i196903-197704
26112SHAFT, VENTURI THROTTLE VALVE
main26112-76031i196903-197704
main26112-77060i197704-200112
26113COLLAR, THROTTLE VALVE SHAFT
main26113-76010i196903-197704
main90099-20015i197704-200112
26113APIN, THROTTLE VALVE SHAFT
main90099-08009i196903-197704
26114WASHER, THROTTLE VALVE SHAFT ADJUSTING
main26114-76010i196903-200112
T=0.1,T=0.1
main26115-76010i196903-200112
T=0.2,T=0.2
main26116-76010i196903-200112
T=0.5,T=0.5
26117PLATE, THROTTLE VALVE SHAFT STOP
main26117-48010×2i197704-200112
main26117-76010i196903-197704
26117APIN(FOR THROTTLE VALVE SHAFT STOP PLATE)
main90099-08005i196903-197704
26118SCREW, STOP PLATE ADJUSTING
main26118-76010×4i196903-200112
26119VALVE, VENTURI THROTTLE
main26119-76021i196903-197704
main26119-77060i197704-198004
main26119-77061i198004-200112
26171GASKET, VENTURI
main26171-76010i196903-197805
main26171-77010i197805-197811
main26171-77020i197811-200112
2237576010WASHER, STOP LEVER SHAFT
9009210605
9009300602
9009400602
9111140832
9161140830
9311913008
9451200800
9461210800

28 parts on this diagram · 3 diagrams in section

VENTURI — Toyota Parts Diagram with OEM Numbers & Prices | EPC Data