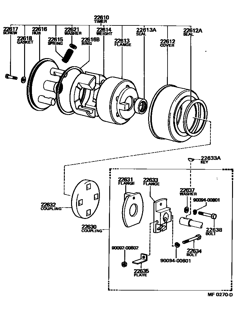
AUTOMATIC TIMER

22610TIMER ASSY, AUTOMATIC
22612COVER, TIMER
22612ASEAL, OIL(FOR TIMER COVER)
22613FLANGE, TIMER DRIVING
22613ASEAL, OIL(FOR TIMER DRIVING FLANGE)
22614WEIGHT, TIMER
22615SPRING, TIMER
22616BRING, O(FOR TIMER HUB)
22617SCREW, TIMER HUB
22618GASKET, TIMER SCREW
22621WASHER, TIMER SPRING ADJUST
OUTER,T=0.5
OUTER,T=1.0
OUTER,T=0.1
OUTER,T=0.2
OUTER,T=1.5
T=0.20,INNER,T=0.2
OUTER,T=2.0
INNER,T=0.5
INNER,T=0.5
INNER,T=0.2
22630COUPLING, INJECTION PUMP W/COUPLING DISC
22631FLANGE, DRIVING
22632COUPLING, INJECTION PUMP
22633FLANGE, COUPLING
22633AKEY, WOODRUFF(FOR COUPLING FLANGE)
22634BOLT, COUPLING FLANGE SET
22635PLATE, COUPLING FLANGE SET
22637WASHER, COUPLING SET BOLT
22638BOLT, DRIVING FLANGE SET
9009200802
main90092-00802
9009400801
main90094-00801
23 parts on this diagram · 2 diagrams in section