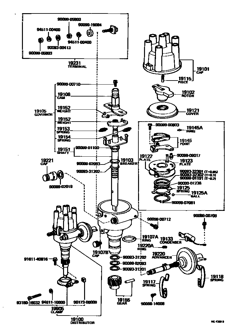
DISTRIBUTOR

19100DISTRIBUTOR ASSY
LOW-OCTANE SPEC
19101CAP SUB-ASSY, DISTRIBUTOR
19102ROTOR SUB-ASSY, DISTRIBUTOR
19103BREAKER SUB-ASSY, DISTRIBUTOR
19105GOVERNOR SUB-ASSY
LOW-OCTANE SPEC
19106CAM SUB-ASSY, DISTRIBUTOR
LOW-OCTANE SPEC
19107ARING, O, DISTRIBUTOR HOUSING
19107BCAP, OIL(FOR DISTRIBUTOR HOUSING)
19115PIECE, DISTRIBUTOR CAP, CENTER
19117SPRING, DISTRIBUTOR CAP, A
19118SPRING, DISTRIBUTOR CAP, B
19121COVER, DUST PROOF
19122PLATE, STATIONARY, DISTRIBUTOR
19123PLATE, DISTRIBUTOR BREAKER
19125SPRING(FOR DISTRIBUTOR STATIONARY PLATE)
19125ABALL, DISTRIBUTOR STATIONARY PLATE
19133CONDENSER, DISTRIBUTOR
19145POINT, DISTRIBUTOR
19145ARING, SNAP(FOR DISTRIBUTOR KIT)
19151SHAFT, GOVERNOR
19152WEIGHT, GOVERNOR
19153SPRING, GOVERNOR, A
LOW-OCTANE SPEC
19154SPRING, GOVERNOR, B
19155GEAR, SPIRAL, DISTRIBUTOR
19220ADVANCER ASSY, VACUUM, DISTRIBUTOR
19220ARING, SNAP(FOR DISTRIBUTOR VACUUM ADVANCER)
19221CAP, ADJUSTER, DISTRIBUTOR
19231TERMINAL, DISTRIBUTOR
19905CLAMP SUB-ASSY, DISTRIBUTOR
9009300413
main90093-00413
9009331201
main90093-31201
9009331202
main90093-31202
9009332301
main90093-32301
9009332302
main90093-32302
9009900709
main90099-00709
9009900710
main90099-00710
9009900712
main90099-00712
9009900803
main90099-00803
9009901100
main90099-01100
9009901191
main90099-01191
9009901238
main90099-01238
9009902019
main90099-02019
9009902093
main90099-02093
9009905803
main90099-05803
9009907081
main90099-07081
9009909017
main90099-09017
9009914008
main90099-14008
9009919084
main90099-19084
9017306009
main90173-06009
9161140816
main91611-40816
9318016032
main93180-16032
9451100400
main94511-00400
9461110600
main94611-10600
53 parts on this diagram · 2 diagrams in section