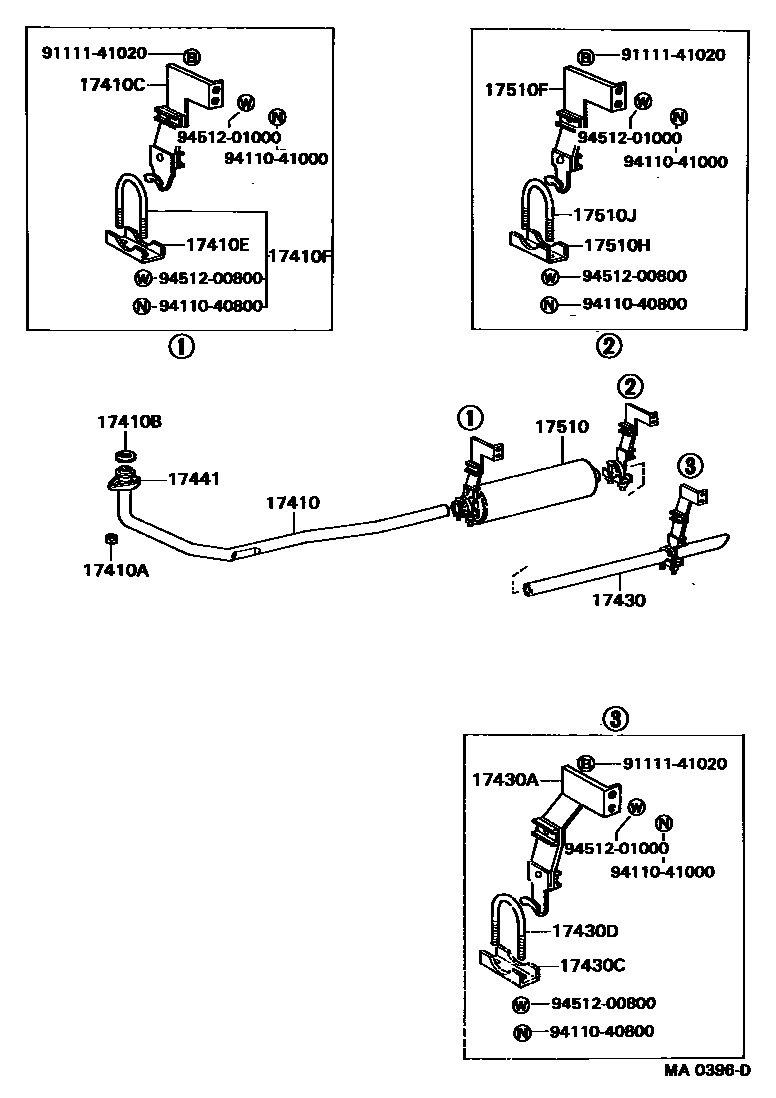
EXHAUST PIPE

17410PIPE ASSY, EXHAUST, FRONT
W/EXHAUST BRAKE
W/EXHAUST BRAKE
W/EXHAUST BRAKE
W/EXHAUST BRAKE
17410ANUT, EXHAUST PIPE SET STUD BOLT
17410BGASKET, EXHAUST PIPE
17410CBRACKET, EXHAUST PIPE FRONT (FOR FRONT)
17410ECLAMP NO.1, EXHAUST PIPE FRONT (FOR FRONT)
17410FBOLT OR RING, EXHAUST PIPE FRONT (FOR FRONT)
17430PIPE ASSY, EXHAUST, TAIL
AUSTRALIA SPEC
SOUTH AFRICA SPEC
SOUTH AFRICA SPEC
QATAR SPEC; QATAR SPEC,IV3
17430ABRACKET, EXHAUST TAILPIPE(FOR FRONT)
17430CCLAMP NO.1, EXHAUST TAILPIPE (FOR FRONT)
17430DBOLT OR RING, EXHAUST TAILPIPE (FOR FRONT)
17441FLANGE, EXHAUST PIPE
17510MUFFLER ASSY
QATAR SPEC; QATAR SPEC,IV3
INDONESIA SPEC
17510FBRACKET, MUFFLER, REAR
INDONESIA SPEC
17510HCLAMP NO.1, MUFFLER, REAR
17510JBOLT OR RING, MUFFLER, REAR
9111141020
main91111-41020
9411040800
main94110-40800
9411041000
main94110-41000
9451200800
main94512-00800
9451201000
main94512-01000
20 parts on this diagram · 12 diagrams in section