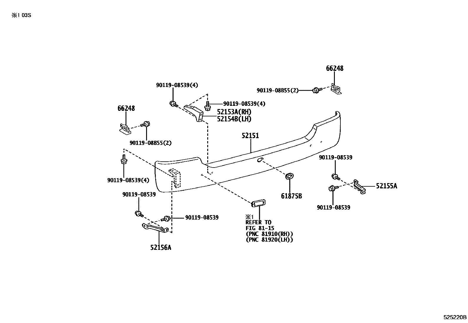
REAR BUMPER & BUMPER STAY

52151BUMPER ASSY, REAR
PAINT REQ.
PAINT REQ.
52153ASTAY, REAR BUMPER SIDE, RH
52154BSTAY, REAR BUMPER SIDE, LH
52155ASUPPORT, REAR BUMPER SIDE, RH
52156ASUPPORT, REAR BUMPER SIDE, LH
61875BLID, SPARE WHEEL CARRIER, NO.1
66248PROTECTOR, REAR BODY SIDE PANEL, RH
8115REFLEX REFLECTOR
9011908539
main90119-08539
9011908B55
main90119-08B55
10 parts on this diagram · 1 diagram in section