E
EPC Data

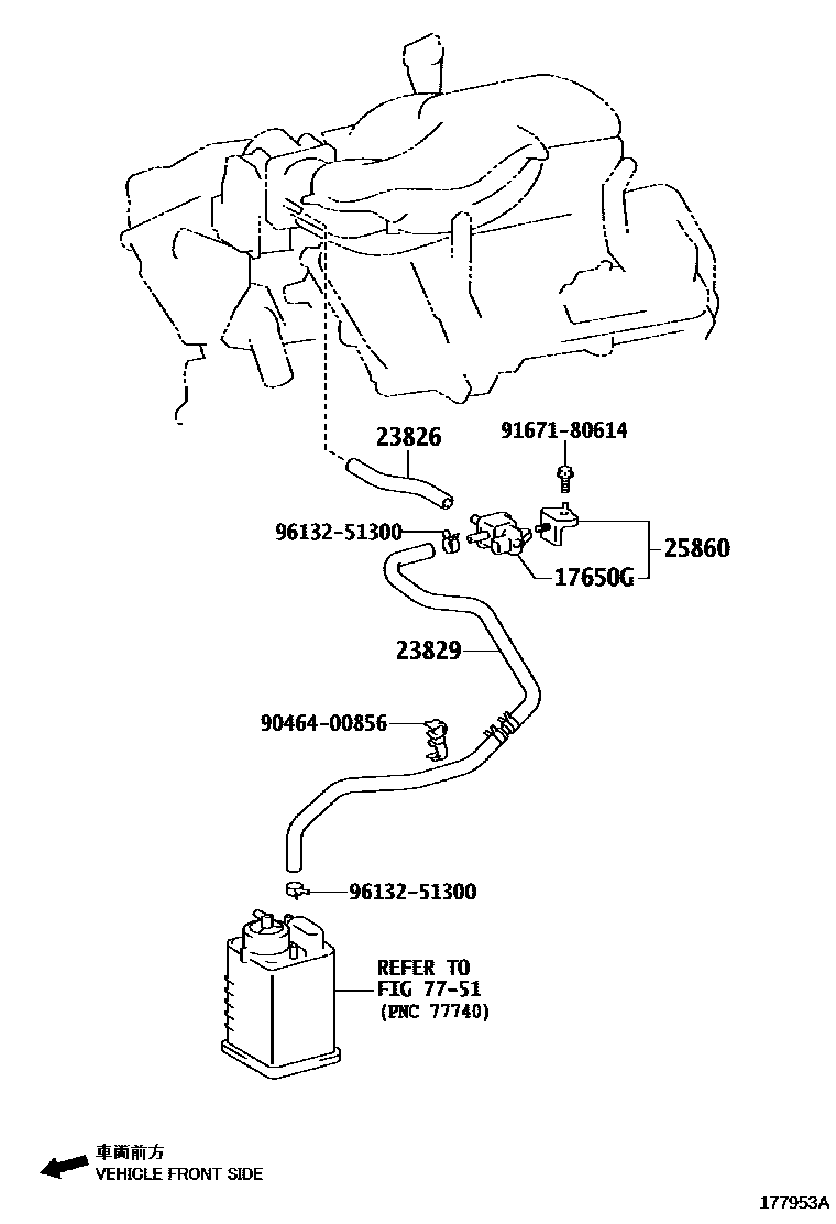
VACUUM PIPING

Parts diagram
17650GVALVE, DUTY VACUUM SWITCHING
main90910-12276i201301-202412
main90910-12280i201301-201910
23826HOSE, FUEL VAPOR FEED, NO.1
main23826-31220i201301-202412
23829HOSE, FUEL VAPOR FEED, NO.3
main23829-0P140i201301-201911
main23829-0P220i201911-202412
main23829-75350i201301-201910
25860VALVE ASSY, VACUUM SWITCHING, NO.1
main25860-31100i201301-202412
7751
9046400856
9167180614
9613251300

8 parts on this diagram · 3 diagrams in section

VACUUM PIPING — Toyota Parts Diagram with OEM Numbers & Prices | EPC Data