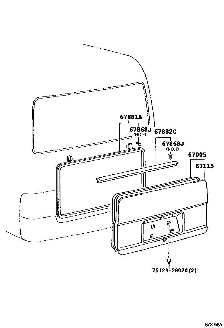
BACK DOOR PANEL & GLASS

67005PANEL SUB-ASSY, BACK DOOR
W(BACK MONITOR)
67115PANEL, BACK DOOR, OUTER
W(BACK MONITOR)
67868JRETAINER, DOOR WEATHERSTRIP
main67867-12150×10iTRB53,XZB53..CBU;BB54,RZB54..23S,29S,30S; TRB53,XZB53;BB54,RZB54..23S,29S,30S200310-201108
W(DOUBLE SWING BACK DOOR),LH; W(DOUBLE SWING BACK DOOR),RH
W(DOUBLE SWING BACK DOOR),CENTER
NO.2
67881AWEATHERSTRIP, BACK DOOR
W(DOUBLE SWING BACK DOOR)
67882CWEATHERSTRIP, BACK DOOR, NO.2
7512928020CUSHION, REAR LICENSE PLATE
main75129-28020
6 parts on this diagram · 3 diagrams in section