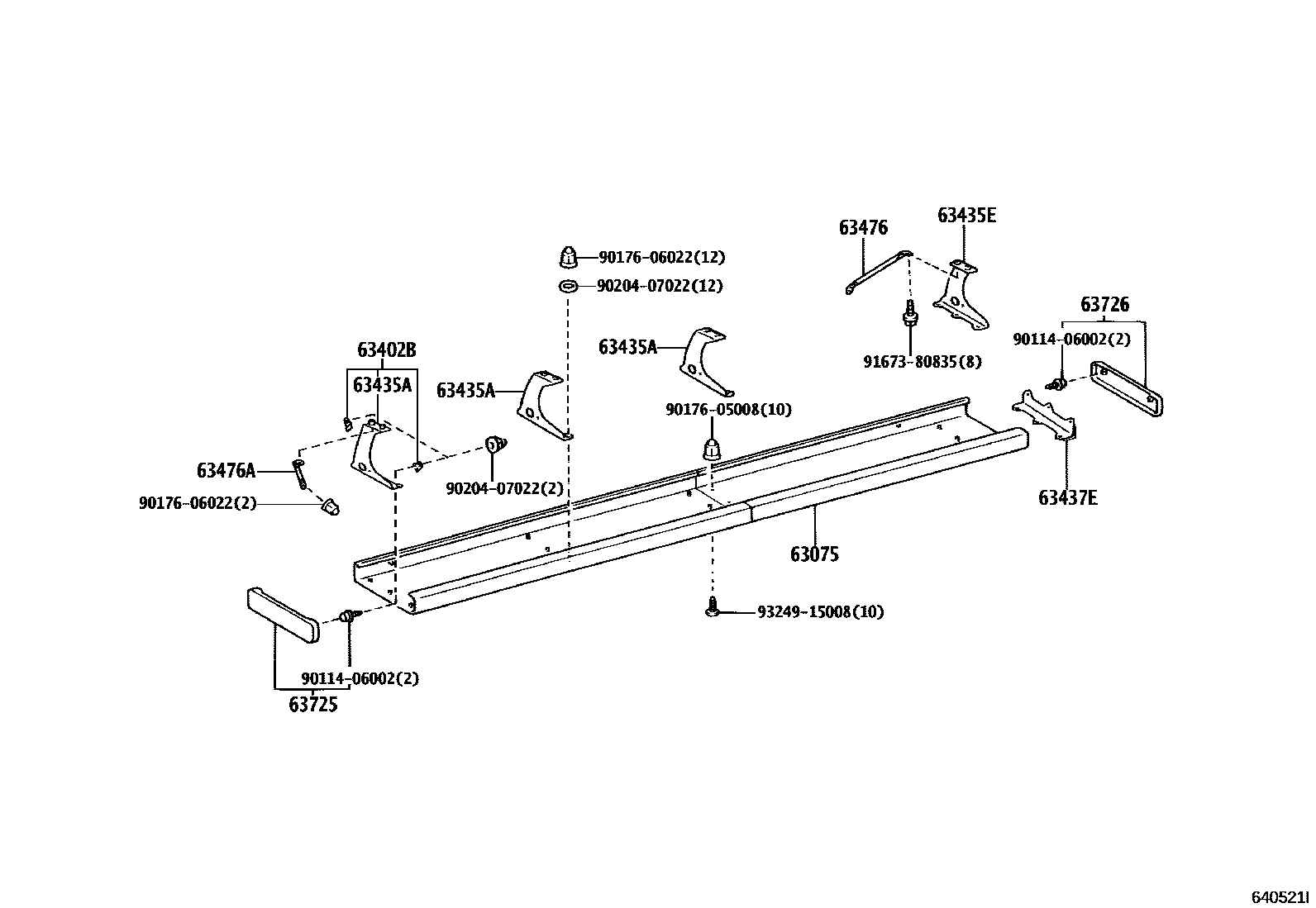
ROOM CURTAIN & ROOM RACK

63075COVER SUB-ASSY, ROOM RACK
IVORY,TRIM4#
IVORY,TRIM4#
IVORY,TRIM4#
MD.CHARCOAL,TRIM1#
MD.CHARCOAL,TRIM1#
IVORY,TRIM4#
IVORY,TRIM4#
IVORY,TRIM4#
MD.CHARCOAL,TRIM1#
MD.CHARCOAL,TRIM1#
IVORY,TRIM4#
IVORY,TRIM4#
IVORY,TRIM4#
MD.CHARCOAL,TRIM1#
MD.CHARCOAL,TRIM1#
IVORY,TRIM4#
IVORY,TRIM4#
IVORY,TRIM4#
MD.CHARCOAL,TRIM1#
MD.CHARCOAL,TRIM1#
63402BFRAME SUB-ASSY, ROOM RACK
IVORY,TRIM4#
IVORY,TRIM4#
IVORY,TRIM4#
IVORY,TRIM4#
MD.CHARCOAL,TRIM1#
IVORY,TRIM4#
IVORY,TRIM4#
IVORY,TRIM4#
IVORY,TRIM4#
MD.CHARCOAL,TRIM1#
63435AFRAME, ROOM RACK, NO.1
IVORY,TRIM4#
IVORY,TRIM4#
IVORY,TRIM4#
IVORY,TRIM4#
MD.CHARCOAL,TRIM1#
IVORY,TRIM4#
main63435-36021-A0×3iBB42,RZB40..LHD..HRF; HZB50..GCC..4FC;HZB50,RZB50..LHD..HRF..WC..CBU..5F199309-199401
IVORY,TRIM4#
main63435-36022-A0×4iBB42,RZB40..LHD..HRF; HZB50..GCC..4FC;HZB50,RZB50..LHD..HRF..WC..CBU..5F199401-199505
IVORY,TRIM4#
IVORY,TRIM4#
MD.CHARCOAL,TRIM1#
63435EFRAME, ROOM RACK, NO.1
IVORY,TRIM4#
IVORY,TRIM4#
IVORY,TRIM4#
IVORY,TRIM4#
MD.CHARCOAL,TRIM1#
IVORY,TRIM4#
IVORY,TRIM4#
IVORY,TRIM4#
IVORY,TRIM4#
MD.CHARCOAL,TRIM1#
63437EFRAME, ROOM RACK, NO.3
63476STAY, ROOM RACK
main63476-36010-A0iHZB50..GCC..4FC;HZB50..HRF..(20S,30S)..WC..5F;BB42,RZB40,50..HRF..WC..(GCC,GEN)199301-199505
IVORY,TRIM4#
IVORY,TRIM4#
MD.CHARCOAL,TRIM1#
63476ASTAY, ROOM RACK
main63476-36020-A0iHZB50..GCC..4FC;HZB50..HRF..(20S,30S)..WC..5F;BB42,RZB40,50..HRF..WC..(GCC,GEN)199301-199505
IVORY,TRIM4#
IVORY,TRIM4#
MD.CHARCOAL,TRIM1#
63725PLATE, ROOM RACK COVER, FRONT
IVORY,TRIM4#
main63725-36010-A1iHZB50..GCC..4FC;HZB50..HRF..(20S,30S)..WC..5F;BB42,RZB40,50..HRF..WC..(GCC,GEN)199301-199505
IVORY,TRIM4#
main63725-36010-B0iRZB40..HRF..(GCC,GEN);BB42,50,58,BZB50,HZB50,RZB50..HRF..(19S,20S,21S,23S,26S,30S)..WC..(GCC,GEN)200108-200408
MD.CHARCOAL,TRIM1#
63726PLATE, ROOM RACK COVER, REAR
main63726-36010-A0iHZB50..GCC..4FC;HZB50..HRF..(20S,30S)..WC..5F;BB42,RZB40,50..HRF..WC..(GCC,GEN)199505-199705
IVORY,TRIM4#
main63726-36010-A1iHZB50..GCC..4FC;HZB50..HRF..(20S,30S)..WC..5F;BB42,RZB40,50..HRF..WC..(GCC,GEN)199301-199505
IVORY,TRIM4#
MD.CHARCOAL,TRIM1#
9011406002
main90114-06002
9017605008
main90176-05008
9017606022
main90176-06022
9020407022
main90204-07022
9167380835
main91673-80835
9324915008
main93249-15008
15 parts on this diagram · 11 diagrams in section