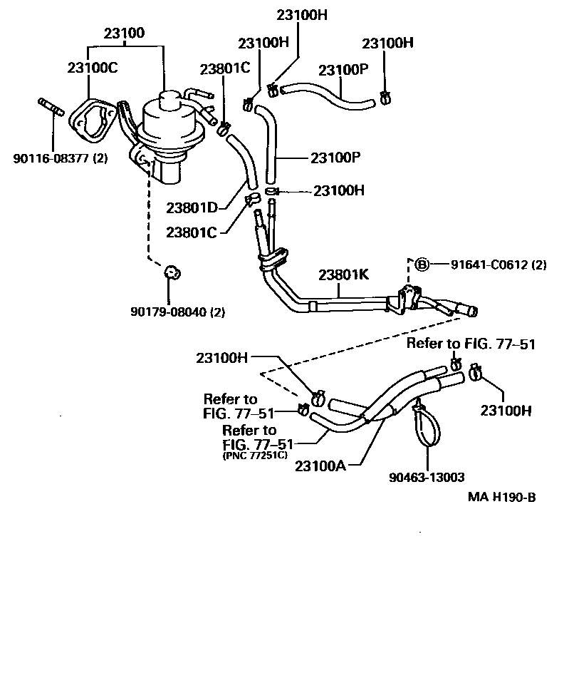
FUEL PUMP & PIPE

23100PUMP ASSY, FUEL
23100AHOSE, FUEL
23100CINSULATOR, FUEL PUMP
23100HCLIP(FOR FUEL HOSE)
PIPE SIDE,TUBE SIDE
PUMP SIDE,CARBURETOR SIDE
23100PHOSE(FOR FUEL PUMP TO FUEL TUBE)
23801CCLIP(FOR CARBURETOR FUEL HOSE)
23801DHOSE, FUEL PIPE, NO.1
L=200(*H,L=160)
L=160
23801KPIPE SUB-ASSY, FUEL, NO.1
7751FUEL TANK & TUBE
9011608377
main90116-08377
9017908040
main90179-08040
9046313003
main90463-13003
91641C0612
main91641-C0612
13 parts on this diagram · 1 diagram in section