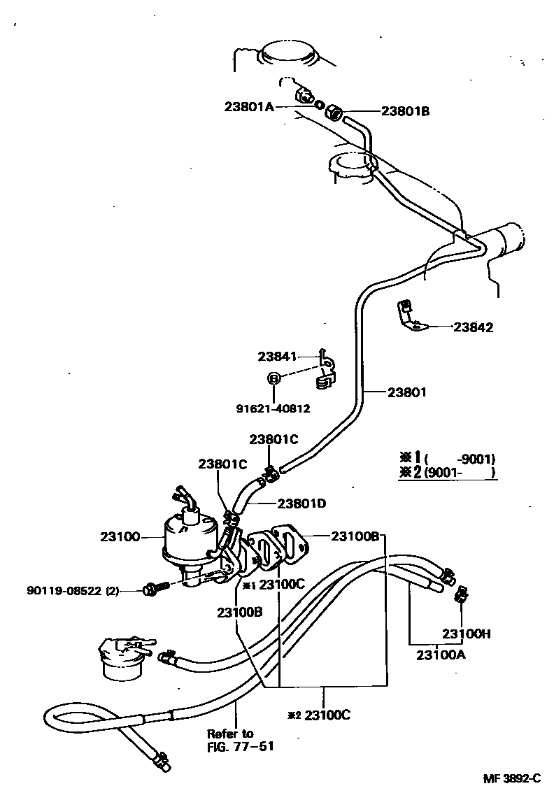
FUEL PUMP & PIPE

23801PIPE OR HOSE SUB-ASSY, CARBURETOR FUEL, NO.1
23801AOLIVE(FOR FUEL PIPE)
23801BNUT, UNION(FOR FUEL PIPE)
23801DHOSE, FUEL PIPE, NO.1
23841CLAMP, FUEL PIPE(HOSE), NO.1
23842CLAMP, FUEL PIPE(HOSE), NO.2
7751
9011908522
main90119-08522
9162140812
main91621-40812
15 parts on this diagram · 2 diagrams in section