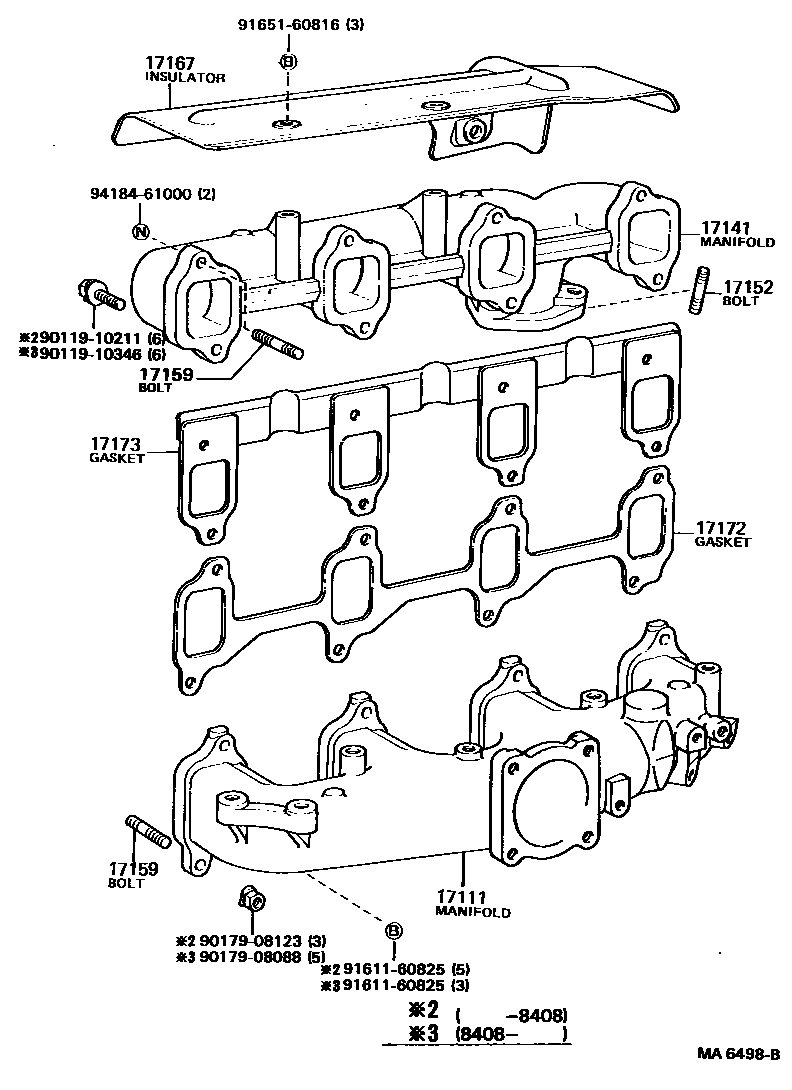
MANIFOLD

17111MANIFOLD, INTAKE
17141MANIFOLD, EXHAUST
17152BOLT, STUD(FOR MANIFOLD TO EXHAUST PIPE)
L=40,S=19&12
L=46.5,S=14&20
17159BOLT, STUD(FOR MANIFOLD TO CYLINDER HEAD)
L=34.5,S=9&16
INTAKE MANIFOLD
INTAKE MANIFOLD SIDE
EXHAUST MANIFOLD
INTAKE MANIFOLD
L=42,S=12&25
EXHAUST MANIFOLD
EXHAUST MANIFOLD SIDE,LWR
EXHAUST MANIFOLD SIDE UPR
EXHAUST MANIFOLD
EXHAUST MANIFOLD
L=36,S=13&13
INTAKE MANIFOLD
INTAKE MANIFOLD
17167INSULATOR, EXHAUST MANIFOLD HEAT, NO.1
17172GASKET, MANIFOLD TO CYLINDER HEAD
17173GASKET, EXHAUST MANIFOLD TO HEAD
9011910211
main90119-10211
9011910346
main90119-10346
9017908088
main90179-08088
9017908123
main90179-08123
9161160825
main91611-60825
9165160816
main91651-60816
9418461000
main94184-61000
14 parts on this diagram · 12 diagrams in section