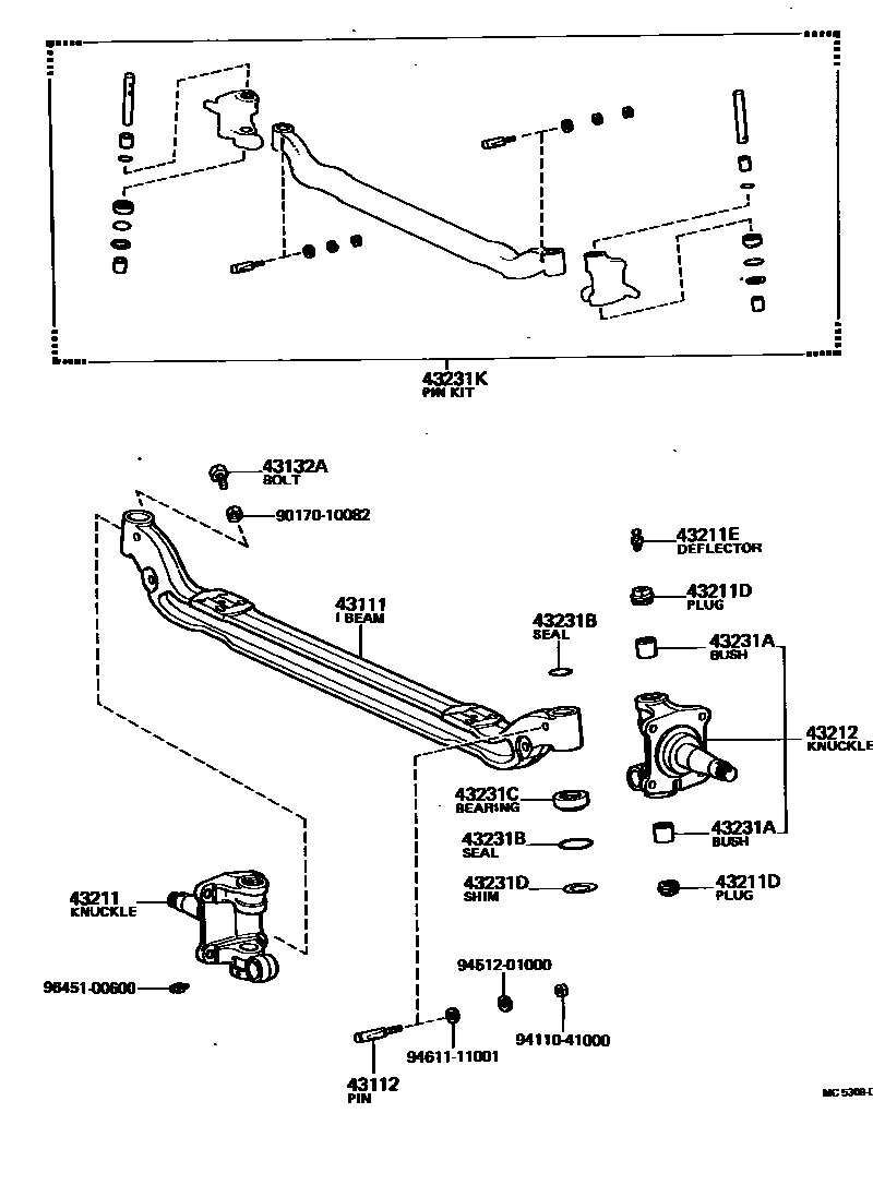
FRONT AXLE ARM & STEERING KNUCKLE

43111I BEAM, FRONT AXLE
43112PIN, KING PIN LOCK
43132ABOLT, ROUND HEXAGON (FOR STEERING KNUCKLE STOPPER BOLT)
43211DPLUG (FOR STEERING KNUCKLE)
UPR
LWR
43211EDEFLECTOR, DUST (FOR STEERING KNUCKLE)
43231ABUSH, BIMETAL FORMED (FOR STEERING KNUCKLE KING PIN BUSH)
43231BSEAL, DUST OR RING, O (FOR STEERING KNUCKLE KING PIN)
UPR
LWR
UPR
LWR
43231CBEARING (FOR STEERING KNUCKLE KING PIN)
43231DSHIM (FOR KING PIN)
T=0.20,T=0.20
T=0.25,T=0.25
T=0.30,T=0.30
T=0.35,T=0.35
T=0.40,T=0.40
T=0.45,T=0.45
9017010082
main90170-10082
9411041000
main94110-41000
9451201000
main94512-01000
9461111001
main94611-11001
9645100600
main96451-00600
17 parts on this diagram · 1 diagram in section